Требования к оборудованию. Для обеспечения нормальных, условий эксплуатации концевых фрез необходимо, чтобы оборудование, приспособления, режущий и вспомогательный инструмент отвечали предъявляемым к ним требованиям. Особое внимание необходимо уделять показателям точности отдельных узлов оборудования, непосредственно связаных с работой инструмента.
75. Результаты расчета фрезы диаметром 6 мм
Станки типа ВФК. 1. Перпендикулярность оси вращения шпинделя к рабочей поверхности стола, отклонение от перпендикулярности у торца шпинделя допускается не более 0,05 мм на диаметре 260 мм.
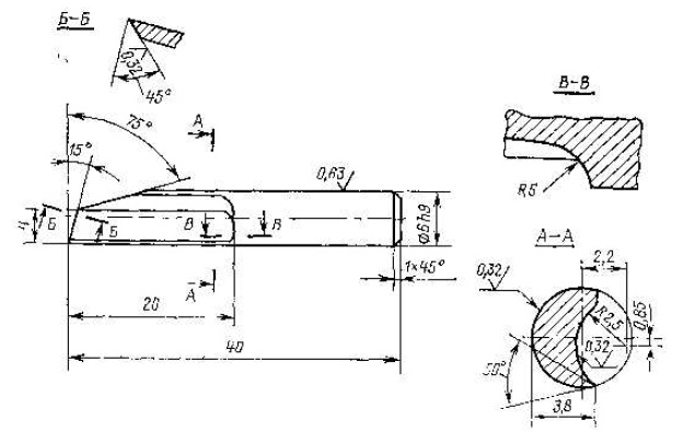
Рис. 93. Конструктивное исполнение концевой однозубой фрезы
2,
Перпендикулярность вертикального перемещения шпинделя к поверхности стола, отклонение от перпендикулярности — не более 0,1 мм на длине 100 мм. 3. Соосность шпинделя и упорного штифта, отклонение от соосности не более 0,05 мм. 4. Радиальное биение шпинделя, допускаемое отклонение не должно превышать 0,02 мм у торца шпинделя.
Станки типа СВПА. 1. Параллельность направления качания рабочей поверхности стола, отклонение от параллельности — не более 0,05 мм на длине 100 мм. 2. Параллельность оси вращения шпинделя рабочей поверхности стола, отклонение от параллельности — не более 0,05 мм на длине 100 мм. 3. Параллельность рабочей поверхности стола направлению его перемещения по горизонтальным направляющим, отклонение от параллельности — не более 0,05 мм на длине 100 мм. 4. Радиальное биение шпинделя, допускаемое отклонение не должно превышать 0,04 мм.
Станки типа ШЛХ. 1. Перпендикулярность вертикальной опорной стенки рабочей поверхности стола, отклонение от перпендикулярности не более 0,1 мм на длине 200 мм. 2. Расположение торцов шпинделей в одной плоскости, допускаемое отклонение не должно превышать 0,2 мм. 3. Радиальное биение шпинделей, допускаемое отклонение не должно превышать у торца шпинделей 0,04 мм.
Кроме регламентации геометрической точности отдельных узлов оборудования необходимо соблюдать следующие требования. 1. Приспособления для закрепления деталей должны быть жесткими и прочными, обеспечивающими падежный зажим. 2. Механизм подачи должен обеспечивать движение материала или инструмента равномерно без рывков и заеданий. 3. Для повышения жесткости рекомендуется выбирать фрезы по длине таким образом, чтобы вылет их был по возможности мини-Режимы резания. При резании регулируемыми параметрами режима являются подача на резец S, и глубина резания Н.
Однако необходимо учитывать, что с увеличением S2 и H снижается качество обработки и возникает опасность поломки концевых фрез. Скорость резания прн фрезеровании концевыми фрезами на станках различных моделей изменяется в пределах от 2 до 20 м/с, что соответствует частоте вращения шпинделей 6000. ..24 000 мин-1. На станках с ручной подачей S, ограничивается усилием, прилагаемым рабочим, которое не должно превышать 60. ..100 Н. Это соответствует Яг-0,2…0,4 мм при обработке древесины твердых пород и дрепесных материалов и S,=0,3. .,0,5 мм при обработке древесины мягких пород. Подача на резец в станках с механической подачей СВПА и ШЛХ определяется кинематикой движения инструмента н обрабатываемого материала. Численные значения ориентировочно равны для станков типа СвПА-2 — осевая подача 5,-0,05… 0,25 мм, поперечная подача 0,2. ..1,5 мм, для станков ШЛХ 5,=0,05 мм.
При выборке пазов и гнезд опасность поломки концевых фрез возрастает. Для предотвращения этого необходимо стремиться к тому, чтобы поперечная подача фрезы осуществлялась при заглублении ее на величину, не превышающую диаметр резания
Заточка фрез производится на специализированных заточных станках типа ТчФК или универсально-заточных станках, оснащенных комплектом приспособлений. Заточка боковых режущих кромок производится со стороны передней поверхности, торцовых — со стороны задней поверхности. Концевая фреза устанавливается консольно в универсальной головке с помощью цанги таким образом, чтобы передняя поверхность фрезы была параллельна боковой поверхности круга. Для заточки используют круги тарельчатой или плоской формы, заправленные по профилю канавки фрезы.
Шлифовальный круг должен правиться так, чтобы его рабочая ширина была меньшей ширины затачиваемой поверхности. Схема взаимного положения круга и фрезы при заточке показана на рис. 94. Величина смещения круга относительно оси фрезы определяется по формуле (45). Для заточки торцовых режущих кромок фрезы устанавливают в соответствии с заданным задним углом и разворачивают на угол поднутрения. Рекомендуемые режимы заточки приведены в 4.1,3.
