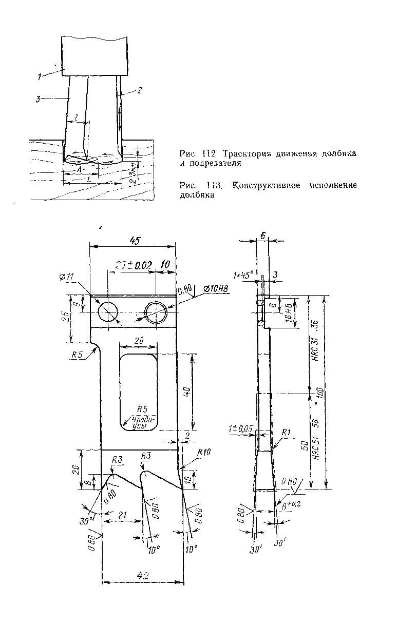
Долбяки (гнездовые долбежные фрезы) предназначены дли получения пазов и гнезд в древесине. Основное применение долбяки нашли при производстве столярно-строительных изделий: Т-образные соединения, установка петель, задвижек и т. л. Долбяками оснащаются агрегатные долбежные головки, встраиваемые в долбежные станки. В автоматических линиях долбежные головки работают в комплекте с устройствами для установки скобяных изделий Зксцентриковый механизм долбежной головки 1 обеспечивает движение долбяка 3 по эллиптической траектории (рис. 112).
Цикл среза стружки долбяком можно разделить из четыре стадии: врезание, рабочий ход со срезанием стружки и передачей ее в направлении рабочего хода, вывод срезанной стружки из гнезда, холостой ход. При выходе долбяка в конце рабочего хода обычно происходит скалывание древесины. Для предотвращения этого в зоне выхода должен быть жесткий подпор.
Отсутствие сколов достигается при работе двумя долбяками с правим и левым направлениями движения. Высокое качество долбления достигается в новых агрегатных долбежных головках ОК. 102.11, ОК 103 11 и ОК 10-1.11, разработанных ВНИИДМЛШем, в которых предусмотрен подрезатель 2, перемещающийся поступательно и подрезающий волокна древесины
Линейные размеры долбяка зависят от размеров паза и кинематических соотношений долбежной головки.
Долбяк является мерным инструментом и его толщина должна быть равна ширине паза. Между длиной паза L и шириной долбяка l существует соотношение
(110)
Для обеспечения нормальных условий резания необходимо стремиться
к минимальному числу зубьев. Таким образом, исходя из размеров паза
и амплитуды колебания долбяка и его параметры и z по формулам (110) и (111]. Длина долбяка обычно находится в пределах 100.. .130 мм.
В процессе среза стружки происходит ТРАНСФОРМАЦИЯ УГЛОВ долбяка,
которую необходимо учитывать при конструировании долбяков.
Работами ВНИИинструмента установлены значения угловых параметров долбяков (рис. 113). Форма межзубной впадины должна обеспечивать ее максимальный объем и оформляться прямыми поверхностями с радиусом впадины в пределах 2…1 мм. Отсутствие на передней вертикальной поверхности транспортирующих зубьев обеспечивает хорошие условия вывода стружки из паза. Для безаварийной работы долбяков необходимо, чтобы соблюдалось соотношение между глубиной и длиной паза, равное 1,5. Подача на одно качание долбяка должна быть не более 0,2 мм.
Долбяки в настоящее время централизованно не выпускаются и изготавливаются силами деревообрабатывающих предприятий. На рисунке показано конструктивное исполнение долбяка для обработки гнезда
