Чертеж, на котором при помощи условных обозначений изображены электрооборудование крана и электрическая связь между ним, называется электрической схемой. По способу принятого изображения электрические схемы разделяют на принципиальные и монтажные.
На принципиальной схеме в развернутом виде показывают назначение отдельных элементов кранового электрооборудования и их взаимосвязь. Монтажная схема представляет собой рабочие чертежи, по которым ведется монтаж электрооборудования.
Принципиальная электрическая схема обычно составляется раздельно для силовых цепей и цепей управления, защиты, рабочего и ремонтного освещения. В силовую цепь принципиальной электрической схемы включаются статоры и роторы электродвигателей, катушки тормозных электромагнитов, вводные ящики, автоматические выключатели, катушки максимальных реле и главные контакты контакторов. В цепи управления, защиты и освещения включаются катушки контакторов и реле, кнопки управления, блокировочные контакты контакторов, концевые выключатели, приборы освещения, нагревательные приборы, приборы звуковой и световой сигнализации.
Силовые цепи обозначаются в схеме жирными линиями, а все остальные цепа — тонкими.
Элементам, являющимся составными частями одного аппарата в электрической схеме, присваивается одно и то же наименование.
Зажимы аппаратов и их элементы обозначаются цифровой маркировкой, причем одинаковую маркировку имеют только те зажимы, которые непосредственно связаны друг с другом прямой электрической связью.
Все аппараты в электрических схемах изображаются з так называемом «нормальном положении». Для электромагнитных аппаратов нормальное положение соответствует положению их при отсутствии тока во втягивающей катушке. Для других аппаратов нормальным считается то положение, которое они занимают при отсутствии внешнего воздействия.
Контакты аппаратов, разомкнутые в нормальном положении, называются замыкающими, а контакты, замкнутые в нормальном положении, называются размыкающими. Нормальное положение рубильников и выключателей в электросхемах соответствует положению с разомкутыми ножами и губками.
Условные графические обозначения для электрических схем регламентированы государственными стандартами.
Принципиальная электрическая схема крана, включая цепи сигнализации и освещения и указания по заземлению, должна содержаться в паспорте каждого крана. Правилами по кранам к электрической схеме предъявляются требования, обеспечивающие безопасность работы крана. Электрическая схема управления электродвигателями крана должна исключать:
Самозапуск элзктродвигателей после восстановления напряжения в сети, питающей кран, предотвращается нулевой защитой, предусмотренной в защитной панели При контроллерном управлении электродвигателями нулевая защита должна выполняться так, чтобы включение линейного контактора защитной панели кнопкой было возможным только в том случае, когда все контроллеры поставлены в нулевое (не рабочее) положение (рис. 7. 12). При командо-контроллерном управлении каждый магнитный контроллер обычно снабжен индивидуальной нулевой защитой. Включение нулевЫХ контактов таких контроллеров в цепь контактора защитной панели не обязательно, но при этом в кабине управления должна быть установлена световая сигнализация, указывающая о включении или отключении магнитного контроллера.
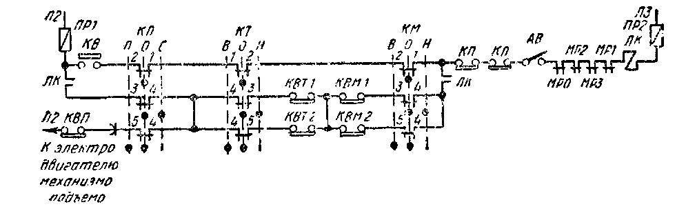
Рис. 7. 12. Принципиальная электрическая схема цепи управления краном с тремя электродвигателями
Электрическая схема цепи управления крана на переменном токе с тремя электродвигателями, удовлетворяющая требованиям Правил по кранам, приведена на рис. 7. 12. В эту цепь введены контакт КЛ, установленный на крышке люка, и контакт КП на разъеъмной части торцового ограждения пастила на мосту крана (устанавливается, когда вход на кран допускается через мост), нулевые контакты 1—2 всех трех контроллеров, концевые выключатели движения моста КВМ, тележки КВТ и подъема КВП, контакты максималыю-токовых реле МРО, МР1, МР2 и МРЗ, а также аварийный выключатель АВ.
Контакты КЛ и КП при размыкании автоматически отключают контактор ЛК и тем самым дают возможность снимать напряжение с троллеев, установленных на мосту крана при выходе на настил. Нулевые контакты 1—2 контроллеров, замкнутые лишь в нулевом положении, исключают возможность включения линейного контактора Л К в тех случаях, когда какой-либо из контроллеров стоит в рабочем положении.
Концевые выключатели КВМ, КВТ и КВП предназначены для отключения линейного контактора Л К при подходе крана или его тележки к упорам, а также крюка к крайнему верхнему положению. Максимально-токовые реле MP разрывают цепь катушки линейного контактора ЛК при протекании по силовой цепи крана тока повышенного напряжения, а аварийный выключатель АВ предназначен для отключения линейного контактора ЛК вручную крановщиком.
Цепь управления состоит из трех параллельных ветвей. В первую ветвь последовательно включены контакторы 1—2 всех трех контроллеров и пусковая кнопка КВ. Ток по этой ветви протекает лишь в момент включения линейного контактора, когда нажата кнопка КВ.
Путь прохождения тока по первой ветви (нажата кнопка KB): фаза ЛЗ — предохранитель цепи управления ПР2 — катушка линейного контактора ЛК — контакты максимально токовых реле MP1—МРЗ — МР2 — МРО — аварийный выключатель АВ — контакт люка КЛ и контакт на разъеъмной части торцового ограждения КП — последовательно соединенные нулевые контакты контроллеров моста КМ — тележки КТ и механизма подъема КП — кнопка включения KB — предохранитель цепи управления ПР1 — фаза Л2. Наличие в этой цепи нулевых контактов не позволяет производить выключение линейного контактора, когда контроллеры не установлены в нулевое положение.
С включением линейного контактора ЛК замыкаются его блокировочные контакты, подключающие две вторые ветви цепи управления к катушке контактора ЛК. Первая ветвь после отпускания кнопки включения KB размыкается.
Путь прохождения тока по второй и третьей ветвям от фазы ЛЗ до блок-контакта ЛК будет прежним, а далее в зависимости от положения контроллеров. При нахождении всех трех контроллеров в нулевом положении ток от блок-контакта Л К пойдет по двумя параллельным ветвям через контакты 3—4 и 4—5 контроллеров и включенные в их цепи концевые выключатели.
При установке контроллеров в рабочее положение, например контроллера моста в положение «вперед», контроллера тележки в положение «назад», а контроллера подъема в положение «подъем», ток от контакта ЛК будет проходить через контакт 4—5 контроллера моста, концевой выключатель КВМ2, концевой выключатель тележки КВТ1, контакт 3—4 контроллера тележки, контакт 4—5 контроллера подъема троллейный провод и его токоприемник, концевой выключатель подъема КПВ, фазу Л2. Переход контакта 4—5 на концевой выключатель подъема через троллейный провод вызван тем обстоятельством, что концевой выключатель подъема установлен на тележке, перемещающейся относительно контроллера подъема, установленного в кабине крановщика. Подключение же концевого выключатели подъема к электродвигателю подъема диктуется целями экономии и упрощения электрической схемы, так как в противном случае для подключения концевого выключателя подъема к фазе Л2 на защитной панели потребовались бы еще один троллейный провод и один токоприеник с соответствующей электропроводкой.
Введение в схему двух блокировочных контактов ЛК необходимо для снятия напряжения фаз Л2 н ЛЗ с контактов контроллеров при отключенном контакторе ЛК.
Размыкание любого из контактов (MP, АВ, КЛ, КП, КВМ, КВТ н КВП), включенных в цепь катушки контактора ЛК, приведет к его отключению и, следовательно, к прекращению питания электродвигателей крана и замыканию их тормозов (катушки электромагнитов тормозов включены параллельно статорным обмоткам своих электродвигателей).
Последующее включение линейного контактора после размыкания контактов MP, АВ, КЛ, КП будет возможно лишь после замыкания сработавшего контакта, установки контроллеров в нулевое положение и нажатия кнопки включения КВ. По срабатывании какого-либо концевого выключателя дальнейшее движение механизма после включения контактора ЛК возможно лишь в обратном направлении, так как в прямом направлении цепь будет разомкнута контактами сработавшего выключателя.
