Рис. 14. 43 Пружинные буфера:
1-уровень пола кабины (отметка первой остановки); 2 — опора
Рис. 14.44. Гидравлический буфер
Гидравлический буфер должен быть снабжен устройством для определения уровня масла 8. Применение стеклянных указателей уровня не допускается. При расчете гидравлического буфера для кабины или противовеса полный ход плунжера должен определяться на основе среднего замедления, равного 9, 81 м/с2 при посадке кабины или противовеса с максимальной скорость от допускаемой ограничителем скорости. Каждый масляный буфер подлежат испытанию на заводе-изготовителе.
Буфер, выдержавший испытание, должен быть снабжен заводской табличкой с указанием завода-изготовителя, типа буфера, номинальной грузоподъемности и скорости лифта, для которого он предназначен, заводского номера и даты выпуска. Испытание производится посадкой на буфер груза, соответствующего массе порожней кабины, и посадкой груза, соответствующего массе полностью нагруженной кабины при наибольшей скорости, допускаемой ограничителем скорости. В том и другом случае наибольшее замедление не должно превышать 25 м/с2. Кроме того, каждый масляный буфер должен подвергаться гидравлическому испытанию, испытанию на утечку масла и проверке па полный возврат плунжера. Величина замедления при испытании буфера должна регистрироваться аскельрографом.
Упоры и буфера должны быть установлены в приямке так, чтобы расстояние от верхней части упора или от головки буфера до опорной буферной плиты кабины или противовеса было не более 200 мм, когда кабина или соответственно противовес находится в нижнем рабочем положении.
Дверные замки
Двери шахты лифтов всех типов должны снабжаться автоматическими замками, запирающими дверь прежде, чем кабина отойдет от уровня посадочной (загрузочной) площадки на расстояние 150 мм. Замок должен быть так устроен и установлен, чтобы его отпирание снаружи шахты была невозможно В тех случаях, когда по условиям эксплуатации необходимо открывать дверь снаружи при отсутствии кабины В зоне остановки, допускается установка специальных устройств для отпирания обслуживающим персоналом автоматических залпов снаружи.
Эти устройства должны позволять отпирание замка только с помощью специального инструмента или ключа, т, е. их конструкция не должна позволять лицам, не имеющим отношения к обслуживанию лифта. открыть замок подручными средствами. Двери шахты, открываемые или закрываемые вручную, кроме автоматических замков, должны быть оборудованы неавтоматическими замками или устройствами, удерживающими двери в закрытом положении, На рис. 14. 45 приведено устройство комбинированного замка, объединяющего автоматический и неавтоматический замки одностворчатой распашной двери шахты пассажирского лифта. Такие замки установлены на большом количестве лифтов старых моделей. выпущенных до 1955 г. Автоматический замок размещается па стене шахты с внутренней стороны в корпусе 1 к состоит из засова 2, запирающего дверь, когда перед ней нет кабины, рычага 3 и ролика 4. При подходе к уровню этажной площадки укрепленная на ней отводка отводит ролик с рычагом 3 влево (показано пунктиром) и тем самым отодвигает засов 2.
Неавтоматическая часть замка, устанавливаемая с внутренней стороны двери шахты, состоит из задвижки 5 и рычага 6, в вырезе которого помещается выступ крестовины 7. Этот замок снаружи шахты может быть отперт ключом или ручкой; поворачивающими крестовину 7, когда засов 2 автоматического замка отведен вправо и упиравшийся в него рычаг 6 под действием пружины 8 освободит выступ крестовины 7. Изнутри шахты неавтоматический замок отпирается путем непосредственного отодвигания рукой задвижки 5 влево. В верхней части корпуса автоматического замка на панели из изоляционного материала смонтированы электрические контакты, выполненные в виде стержня 9, на который насажен барабанчик из изоляционного материала с двумя латунными кольцами, и двух пар латунных лапок. Правые лапки клеммами 10 включены в цепь управления лифтом, а левые клеммами 11 — в цепь освещения кабины и сигнальной лампы, установленной в вызывном аппарате. Контакт, включаемый в цепь управления, замкнут при закрытой двери и тем самым исключает возможность пуска лифта при открытой двери шахты или вызывает остановку кабины в случае открытия двери шахты во время ее движения.
При открывании двери стержень 9 перестает удерживаться задвижкой 5 и под действием пружины смещается влево. В результате правые контакты размыкаются и тем самым разрывают цепь управления лифтом, предотвращая его пуск с открытыми дверями шахты, а левые замыкаются и включают освещение кабины и сигнальную лампу «занято» в вызывном аппарате.
На рис. 14. 46 показано устройство замков для запирания аналогических дверей шахты моделей, выпущенных в 1955—1958 гг. Неавтоматический замок, состоящий из защелки 1 с пружиной 2, коленчатого рычага 3 и ручек 4, устанавливается на створке двери с внутренней стороны шахты. Автоматический замок устанавливается на внутренней стороне портала двери и состоит из засова 5, стержня 6 с пружиной 7 и рычага 8 с роликом 9.
Когда кабина отсутствует на этаже, дверь шахты заперта обоими замками — с одной стороны, посредством засова 1 и воздействующей на него пружины 2, а с другой — засовом 5, на который воздействуют через стержень 6 и рычаг 8 пружины 7. При этом возможность отпирания двери ручками 4 как с наружной стороны шахты, так и изнутри нее исключена, так как коленчатый рычаг 3, воздействующий на защелку 1 при нажатии на ручку 4, удерживается засовом 5 автоматического замка. Для отпирания двери засов автоматического замка должен быть отведен, что производится установленной на кабине отводкой, которая при подходе кабины к уровню этажной площадки воздейстсвует на ролик У и поворачивает рычаг 8 по часовой стрелке, отодвигая тем самым засов 5.
Рисунок 14.45. Замок дверей шахты пассажирского лифта модели 30-х годов
В верхней части корпуса автоматического замка размещены электрические контакты, включаемые в цепь управления, сигнализации и освещения кабины, Контакт 10 замыкается при закрытии створки двери. Контакт 11 замыкается защелкой 1, контролируя тем самым запирание двери неавтоматическим замком. Контакты 12 и 13 контролируют запирание двери автоматическим замком. Все эти контакты включаются в цепь управления электрической схемы лифта. Контакт 14, замыкающийся при открытой двери, включается в цепь сигнализации и освещения кабины. При установлении контроля запирания двери автоматическим замком, воздействие отводки на ролик 9 должно быть устранено еще до пуска лифта; для этого применяется отводка с электромагнитным приводом, показанная на рис. 14. 47.
Рис. 14.46 Замок дверей шахты пассажирского лифта модели 1955 г
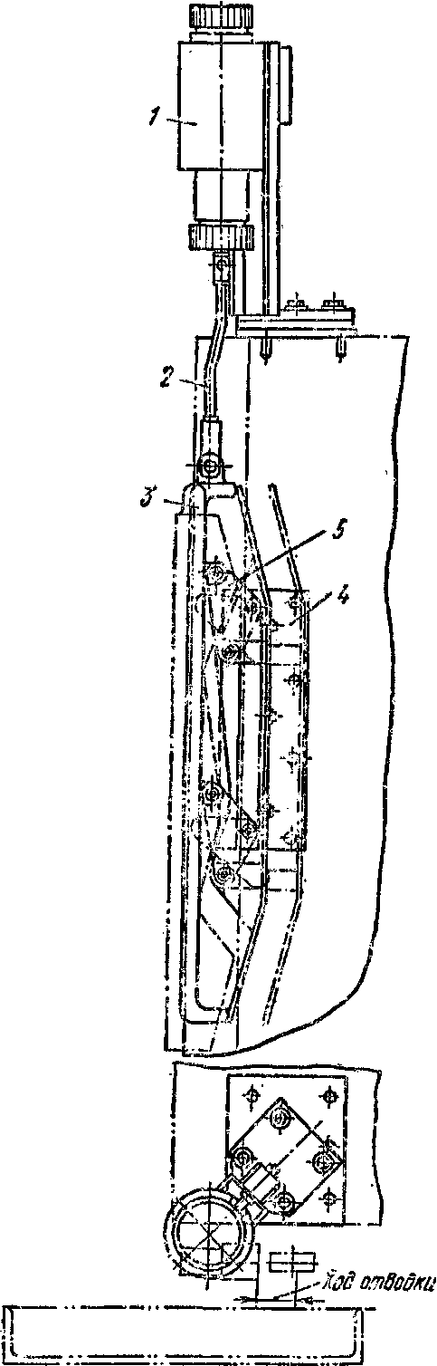
Электромагнитная отводка, применяемая на лифтах моделей, выпущенных в 1955—1958 гг., и модернизированных моделях старых лифтов состоит из электромагнита 1, тяги 2, соединяющей электромагнит с отводкой 3 и кронштейном 4, на котором шарнирно крепится сектор 5, связывающий обе части отводки. Перед пуском лифта включается электромагнит и подтягивает отводку вверх (положение, показанное на рис. 14. 47), в результате чего освобождается ролик автоматического замка и последний запирает дверь. При отключении электромагнита тяга 2 совместно с отводкой опускается, при этом сектор 5 поворачивается на шарнире и разводит обе части отводки, выдвигая правую из них в положение (показано пунктиром), при котором, следуя мимо замка, она нажимает на его ролик и отпирает замок. Отключение электромагнита должно производиться только перед остановкой кабины. Это устранит воздействие отводки на ролики замков всех предшествующих этажей, чем исключается возможность отпирания неавтоматического замка снаружи шахты во время следования кабины мимо этажа, а также толчки при ее движении.
На рис. 14. 48 показан замок автоматической раздвижной двери шахты пассажирского лифта. При открывании отводка двери шахты 1 нажимает па ролик рьчага замка двери шахты 2, который, поворачиваясь вокруг оси 3, приподнимает защелку замка двери шахты 4, вращающегося на оси кронштейна 5, и отпирает замок, одновременно разрывая цепь контакта 6. Каретка створки дверей 7 передвигается по линейке 8. Устойчивость движения каретки обеспечивается эксцентриком 9. Функцию магнитной отводки при таких дверях выполняет привод дверей кабины.
На рис. 14. 49 и 14. 50 представлен замок распашных дверей грузовых лифтов. Он состоит так же, как и у пассажирских лифтов, из двух частей: автоматической и неавтоматической. В неавтоматической замок шпингалетного типа (рис. 14. 49) входит механизм подъема шпингалета 1, штанга 4, защелка 2 и ручка 3, из которых внутренняя несколько утоплена внутрь створки. Длина штанги регулируется специальным болтом 6. Пружина 5 возвращает систему в начальное положение. Поворачивая ручку на некоторый угол, с помощью штанги и регулировочного винта поднимают защелку и тем самым отпирают неавтоматический замок, однако отпереть его можно только в том случае, когда подъему защелки не препятствует установленный в верхней балке шахтных дверей кронштейн автоматического замка (рис. 14. 50). При подходе кабины к этажу электромагнитная отводка нажимает на рычаг автоматического замка 1, который, поворачиваясь вокруг оси. отодвигает кронштейн 2 и дает возможность подняться защелке неавтоматического замка. Соединяющая кронштейн и рычаг тяга 3 под действием пружины 4 всегда стремится вернуть кронштейн В первоначальное положение, чему препятствует отводка (рис 14. 51). При трогании кабины с этажа электромагнит втягивает отводку и крои штейн снова запирает защелку. Для открывания двери при отсутствии кабины на этаже имеется специальное приспособление 5, с помощью специального ключа отодвигающее кронштейн. Тяга связана кинематически с контактом 6, разрывающим цепь управления при отодвинутом кронштейне. Дверь оборудована фартучным устройством 7, отключающим контакт при открытой створке.
Рисунок 14.47. Электромагнитная отводка ЭМО-602/8
Рисунок 14.48 Замок автоматических раздвижных дверей шахты пассажирского лифта
Контакты безопасности
Основным требованием, предъявляемым к лифтам, является безопасность его работы. При работе лифта возможно появление некоторых аварийных ситуации, которые могут быть причиной несчастных случаев. К ним откосятся обрыв канатов (либо элементов подвески) кабины или противовеса, превышение скорости движения кабины выше допустимой, произвольный пуск лифта, перегрузка кабины, пуск лифта при открытых дверях шахты, кабины, подъем кабины выше или опускание ниже нормальных верхнего и нижнего положений и ослабление натяжения канатов ограничителя скорости. Для того чтобы избежать появления аварийных ситуаций, а в случае их возникновения не допустить несчастных случаев, применяются контакты безопасности. Каждая дверь шахты и кабины должна быть снабжена электрическими (блокировочными) контактами, включенными в схему управления таким образом, чтобы пуск лифта был возможен только при закрытых дверях кабины и запертых дверях шахты. Если же во время движения кабины отперта дверь шахты или открыта дверь кабины, то лифт должен остановиться, У пассажирских и грузо-пассажирских при смешенном управлении допускается вызов пустой кабины с открытыми дверями.
Рисунок 14.49. Неавтоматический замок шахтных дверей грузовых лифтов
Рисунок 14.50 Автоматический замок шахтных дверей грузовых лифтов
У лифтов с неподвижной отводкой для отпирания автоматических замков дверей шахты допускается возможность пуска кабины при закрытых, но не запертых дверях шахты в пределах 150 мм от уровня загрузочной площадки.
Рисунок 14.51. Электромагнитная отводка ЭМО-1:
1 — электромагнит; 2 — отводка; 3 — резиновые демпферы
Следует иметь в виду, что при многостворчатых дверях кабины или шахты, створки которых кинематически не связаны между собой, должен быть обеспечен контроль закрывания каждой створки и независимо от этого должен осуществляться контроль запирания автоматического замка. При перегрузке кабины сверх допустимой нормы электрический контакт должен автоматически предотвращать пуск лифта. Электрические предохранительные контакты включаются в цепь управления и обеспечивают снятие напряжения с приводного электродвигателя лифта, наложение механического тормоза и остановку кабины; при перегрузке приводного электродвигателя или при коротком замыкании в силовой цепи или цепях управления для этой цели применяются автоматические выключатели, состоящие из токовой катушки с сердечником, контактной системы с пружиной л теплового механизма выдержки времени. При возрастании тока в защищаемой цепи выше допустимого значения сердечник катушки втягивается настолько, что освобождает пружину с подвижными контактами, и электрическая цепь разрывается. Обратное включение автомата производят от руки.
При действии ловителей, при ослаблении или обрыве одного или нескольких тяговых канатов, при переходе натяжным устройством каната ограничителя скорости или уравновешивающих канатов крайних рабочих положений, а также в случае, если плунжер гидравлического буфера не возвратился в исходное положение после подъема кабины или противовеса, в качестве предохранительных электрических контактов применяют концевые выключатели типов ВК-211, ВК-200Б, ВК-211Б, ВПК-2100, ВК-410, ВКЦ-400 и др. (см. рис, 14. 29, 14. 31, 14. 35, 14, 12, 14. 50, 14. 52).
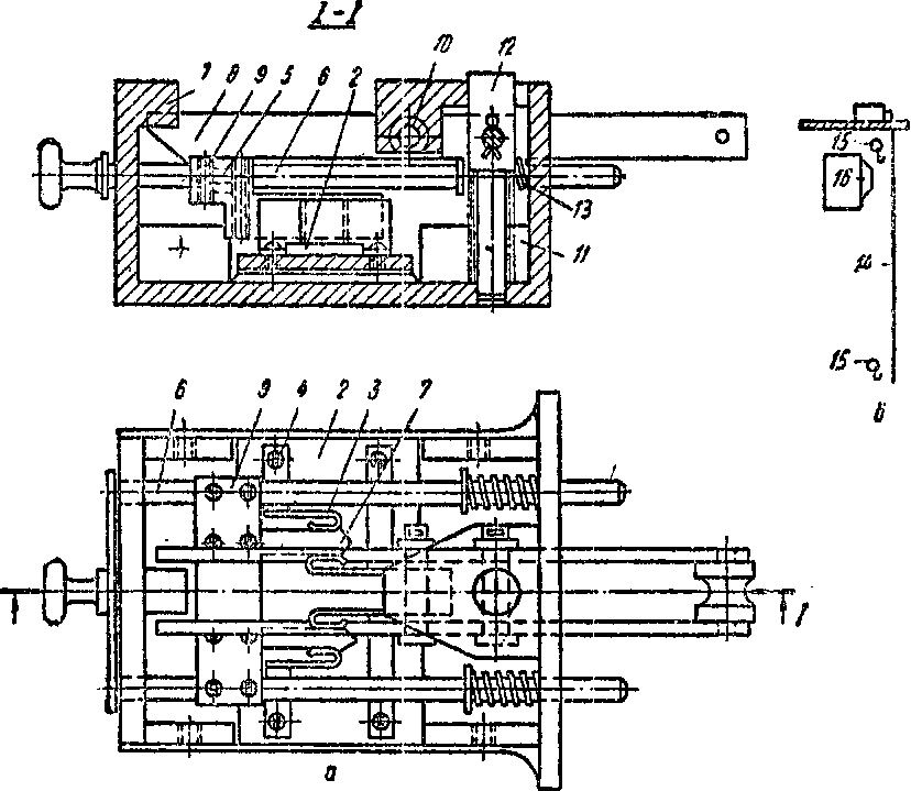
Концевой выключатель ВК-211 (рис. 14. 52) снабжен механизмом переключения контактов мгновенного действия. При воздействии на ролик 1 в направлении стрелки рычаг 2 поворачивается и с помощью спиральной пружины 3 поворачивает поводок 4. Поворот поводка ведет к сжатию пружины 10 под действием ролика 9. В момент, когда поводок
Рисунок 14.52. Концевой выключатель ВК-211
переходит среднее положение, отжимается собачка 6 и силой сжатой пружины 10 коромысло 8 перебрасывается в другое положение, вследствие чего правый контакт 7 размыкается, а левый замыкается. После устранения воздействия на ролик подвижная система выключателя под действием пружины 5 возвращается в исходное положение. Если сиять пружину 5, то концевой выключатель работает без самовозврата. Контакты концевого выключателя, ловителей, ограничителя скорости, а также контакты натяжных устройств уравновешивающих канатов и канатов ограничителя скорости должны выполняться несамовозвратными. У лифтов со скоростью не более 1, 5 м/с разрешается применение самовозвратных концевых выключателей, устанавливаемых в цепи управления, и контактов ловителей.
На лифтах всех типов вне зависимости от наличия устройств для автоматической остановки кабины в крайних рабочих положениях должны устанавливаться концевые выключатели. Они предназначены для отключения электродвигателя лифта при переходе кабиной крайних рабочих положений, но не более чем на 200 мм.
Рисунок 14. 53. Концевой выключатель главного тока:
а — общий вид; б — схема действия установки
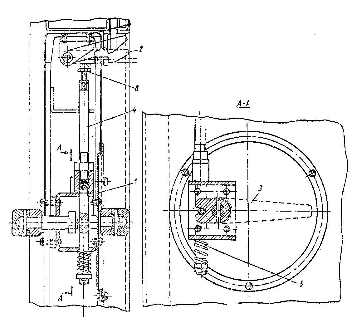
Лифты с приводом переменного тока с барабанной лебедкой или канатоведущим шкивом, у которых собственная масса тяговых канатов такова, что при неподвижном противовесе или кабине не происходит проскальзывания канатов на канатоведущем шкиве, должны оборудоваться концевыми выключателями главного тока (рис. 14. 53). В чугунном корпусе выключателя 1 на эбонитовой панели 2 укреплены две пары пружинных контактов 3 с клеммами 4, посредстом которых они включаются в цепь главного тока, питающую электродвигатель лифта. На эбонитовой панели 5, укрепленной на вилке 6, установлены бронзовые ножи 7, замыкающие контакты 3. Контакты в замкнутом положении удерживаются защелкой 8, находящейся в зацеплении с планкой 9, установленной на стержнях вилки 6. Защелка 8 шарнирно укреплена на оси 10, вставленной в корпус 1, и удерживается пружиной 11, насаженной на палец 12, свободно вставленный в корпус концевого выключателя. Размыкание контактов 3 производится пружиной 13 после расцепления защелки 8. Для этого к правому концу защелки крепится канатик 14, натягиваемый по всей высоте шахты. Вверху и внизу к нему прикреплены установленные в шахте рычаги 15, при нажатии на которые отводкой 16, укрепленной на кабине, канатик натягивается и выводит защелку из зацепления. Рычаги 15 устанавливают так, чтобы расстояние от каждого из них до отводки 16, когда кабина находится на соответствующем крайнем этаже, не превышало 200 мм.
Рисунок 14.54. Внешний вид этажного переключателя ПЭ-1
Вместо выключателей главного тока допускается установка концевых выключателей в цепи управления, при этом должно устанавливаться не менее двух выключателей, действующих независимо один от другого на независимые аппараты цепи управления, обеспечивающие двойной разрыв цепи главного тока и отключение электродвигателя. При оборудовании лифтов с барабанными лебедками или канатоведущими шкивами, не допускающими проскальзывания канатов, должно устанавливаться не менее двух концевых выключателей, действующих на независимые напряжения приводного электродвигателя.
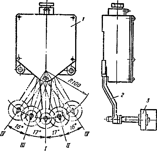
В качестве концевого выключателя, установленного в цепи управления, применяется выключатель типа ВК-211, устройство которого показано на рис. 14. 52, или этажный переключатель (рис. 14. 54). Этажный переключатель состоит из корпуса 1, внутри которого помещена контактная система, и поворотного рычага 2 с роликом 3. Рычаг может занимать три фиксированных положения: среднее (I), правое (II) и левое (III) и холостой ход (IV). При подходе кабины к этажному переключателю ролик его попадает в раствор фигурной отводки, которая поворачивает рычаг из одного положения в другое. Подробное описание работы этажного переключателя и форма отводки даны ниже.
Рисунок 14.55. Одинарный контакт
На рис. 14. 55 изображено устройство одинарного дверного контакта, который применяется на лифтах старой конструкции для контроля закрытия створки двери шахты, а также в качестве контакта ловителя. В корпусе 1 на панели 2 из изоляционного материала установлены медные контактные лапки 3 и клеммы 4 для подключения проводов цепи управления. Между лапками помещен стержень 5 с барабанчиком 6 из изоляционного материала, на котором укреплено латунное кольцо 7. При закрывании двери стержень 5 створкой двери перемещается по стрелке, при этом кольцо 7 замыкает контактные лапки и тем самым цепь управления. При открывании двери контакт под действием пружины 8 размыкается.
