Автоматическое регулирование процесса горения производится в целях поддержания заданного температурного режима при соблюдении высоких показателей горения и безопасности сжигания газа, что значительно повышает экономичность установленного отопительного оборудования.
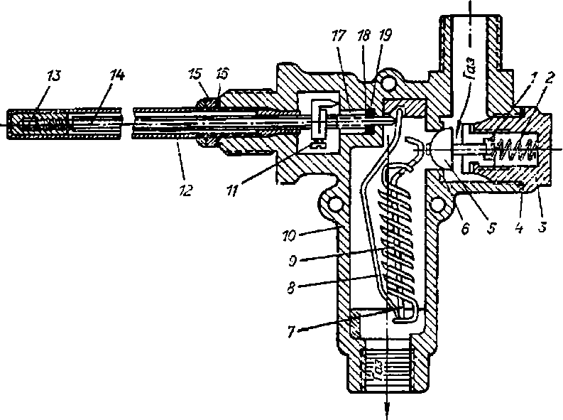
Рис. 6. Терморегулятор:
1 — направляющая втулка клапана;
2 — возватная пружина клапана; 3 — крышка клапана; 4 — прокладка; 5 — клапан; 6 — седло клапана; 7, 8 — рычаги; 9 — пружина рычага; 10 — корпус терморегулятора; 11 — регулирующие поводок; 12 — латунная трубка; 13 — крепление инварного стержня; 14 — инварний стержень; 15 — контргайка; l6 — прокладки; I7 — уплотнитель сальника; 18 — шайба сальника: 19 — салышковая набивка
Комплексная автоматика, применяемая в малых котлах и водонагревателях, состоит из следующих основных систем: автоматики регулирования и безопасности, теплотехнического контроля.
Система автоматики котла КЧМ-1, разработанная институтом Мосгазпроект (рис. 5), состоит из двухпозиционного регулирующего автомата — терморегулятора (рис. 6) и автомата безопасности.
Терморегулятор автоматически поддерживает заданную температуру воды в генераторе тепла в соответствии с настройкой регулятора. При повышении температуры воды в котле клапан газопровода закрывается, а с понижением — открывается.
В котлах марки КЧМ терморегулятор устанавливается на выходе подающего трубопровода или в коллекторе котла. В водонагревателях АГВ-80 и АГВ-120 он расположен ниже средней линии корпуса нагревателя. Корпус терморегулятора помещается с внешней стороны водонагревателя, а трубка со стержнем, которая омывается водой — внутри генератора.
Рис. 7. Электромагнитный клапан:
1 — корпус; 2 — двойное седло; 3 — нижняя тарелка: 4 — пружинка; 5 — крышка; 5 — отверстие для подвода газа к запальнику; 7 — верхняя тарелка; 8 — накидная ганка термопары; 9 — штуцер термопары; 10 — шток; 11 — дисковый якорь; 12 — кнопка; 13 — пружина кнопки; 14 — защитный колпачок; 15 — обмотка электромагнита; 16 — сердечник электромагнита; 17 — гибкая мембрана
Основной частью терморегулятора является чувствительный элемент, состоящий из латунной трубки с большим коэффициентом линейного расширения и инварного стержня — с малым коэффициентом линейного расширения.
При изменении температуры воды в котле происходит увеличение или уменьшение длины латунной трубки, и, соответственно, перемешение закрепленного в ней с одного конца инварного стержня. Свободным концом стержень воздействует на систему рычагов, находящихся под натяжением пружины, вследствие чего газовый клапан закрывается или открывается.
Терморегулятором можно отрегулировать температуру котла в пределах 40-95°С. Это достигается изменением активной длины инварного стержня путем подвертывания его во втулке корпуса при помощи поводка.
Запальник устанавливается на кронштейне у головки горелки. Она дает два факела пламени: для нагрева термопары и зажигания горелки котла.
Автомат безопасности отключает поступление газа к горелке в случае затухания или отрыва пламени и состоит из следующих элементов: электромагнитного клапана, термопары и запальника.
Электромагнитный клапан (рис. 7) представляет собой прибор, в передней части корпуса которого находится электромагнит (сердечник с обмоткой). Сердечник изготовляется из пермаллоя (железоннкелевый сплав с примесью углерода, кремния и марганца), обладающего большой магнитной проницаемостью. Концы обмотки сердечника выведены на штуцер, который соединяется с накидной гайкой. Дисковый якорь помешается на штоке, который, будучи связан с гибкой мембраной, может воздействовать на двойной тарельчатый клапан. Когда генератор тепла не работает, спиральная пружина прижимает тарелку клапана к камере входа газа к седлу клапана. В этом положении клапан перекрыт, газ не поступает ни к запальнику, ни к горелке.
Котел включается в работу при нажатии до отказа кнопки электромагнитного клапана. Якорь при этом прижимается к сердечнику электромагнита, стержень якоря в свою очередь передвигает клапан в камере выхода газа, и тарелка клапана, прижимаясь к своему седлу, закрывает проход к горелке котла. В камере входа газа тарелка клапана отойдет от седла и откроет проход газу к запальнику через отверстие в корпусе клапана, находящегося между седлами.
При нагревании спая термопары в цепи электромагнитного клапана возникает электродвижущая сила, способная удерживать якорь электромагнитом. При опущенной кнопке пружина клапана передвигает его назад, по направлению к электромагниту. При этом тарелки клапана устанавливаются в промежуточном положении, седла открываются, и газ поступает к запальнику и горелке. Выходящий из горелки газ зажигается горящим запальником.
