Металлоконструции кранов с электрическим приводом при питании электродвигателей от внешней сети, а также все металлическое электрооборудование (корпуса электродвигателей, кожухи аппаратов, металлические оболочки проводов и кабелей, защитные трубы и т. п. ), которое не входит в электрическую цепь, но может оказаться под напряжением вследствие повреждения изоляции, должно быть заземлено в соответствии с требованиями гл. 1—7 Правил устройства электроустановок.
Заземление подкранового пути башенных строительных кранов должно выполняться в соответствии с «Инструкцией по заземлению передвижных строительных механизмов и электрофицированного инструмента СН 38-58»(изд. 2-е, испр.).
Заземление кранов, передвигающихся по наземным рельсовым путям (башенных, козловых), выполняется в зависимости от системы энергоснабжающей сети — с глухо заземленной или изолированной нейтралью трансформаторов (генераторов). При глухо заземленной нейтрали (глухое заземление нейтрали является обязательным в четырехпроводной сети переменного тока) заземление осуществляется путем соединения металлоконструкций крана и крановых путей с заземленной нетралью через нулевой провод линии, питающей кран.
Для этой цели необходимо:
а) заземляющую жилу четырехжильного кабеля, подающего питание на кран, одним концом присоединить к заземляющему зажиму (болту) подключательного пункта (например, распределительного силового шкафа, пускового ящика или щитка с рубильником и предохранителями и т. п. ), а другим концом — к заземляющему зажиму (болту) крана; таким присоединением осуществляется требуемая ПУЭ (1-7-19) металлическая связь корпусов электрооборудования с заземленной нейтралью установки;
б) проложить соединительный проводник между подключательным пунктом и рельсовыми путями крана; концы проводника приварить к корпусу подключательного пункта и ближайшему рельсу; корпус подключательного пункта должен быть присоединен к нулевому проводу питающей линии;
12*
в) приварить электродуговой сваркой перемычки между всеми стыками рельсов, а также между двумя нитками рельсов в начале и конце пути; для перемычек между стыками рельсов, а также в качестве соединительных проводников следует применять круглую сталь диаметром 6—9 мм или полосовую сталь толщиной не менее 4 мм и сечением не менее 48 мм2; приварка перемычек производится по нейтральной оси рельсов на расстоянии 500 мм от их концов; запрещается приваривать перемычки и соединительные проводники к подошве рельсов;
г) соединить рельсы в разных местах с повторными заземлителями (естественными или искусственными) не менее чем двумя проводниками; соединение рельсов с заземлителями выполнить сваркой.
В качестве естественного повторного заземлителя в первую очередь следует использовать проложенную в земле водопроводную сеть или металлические конструкции зданий и сооружений, имеющие соединение с землей. При отсутствии естественных заземлителей применяются искусственные заземлители (забитые в землю стальные трубы, угловая сталь, металлические стержни и т. п. ). Таким соединением рельсов с заземлителями выполняется требование ПУЭ (1-7-39) об обязательном повторном заземлении нулевого провода.
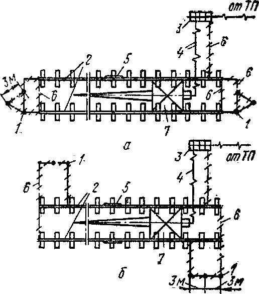
Схемы присоединения крановых путей к искусственным очагам заземления приведены на рис. 7. 7 и 7, 8.
Рис. 7. 7. Схема заземления крановых путей:
а — расположение очагов заземления у торцов путей; б— расположение очагов заземления вдоль путей; 1 — очаг заземления: 2—крановый путь; 3 — распределительный щит; 4 — четырехжильный кабель: 5 — перемычка; 6 — соединительный проводник; 7 — башенный кран Заземляющий контур выполняется в виде очага заземления, состоящего из трех соединенных между собой стержней длиной 2—3 м, вертикально расположенных в земле по треугольнику или в ряд па расстоянии 3 м друг от друга. Допускается также горизонтальное расположение стержней.
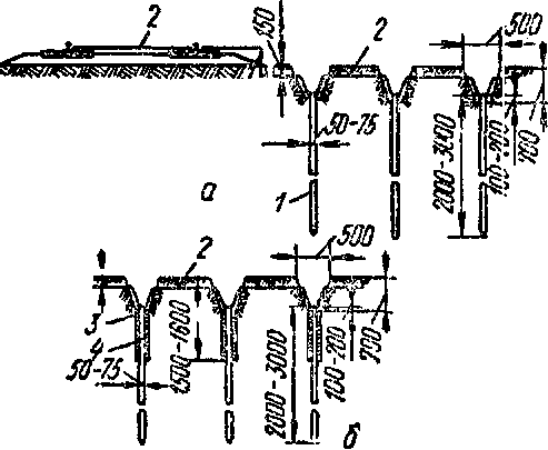
В качестве заземлителей следует применять некондиционные стальные трубы, сталь угловую 50X50 и 60X60 мм или стальные стержни диаметром 16—20 мм. Вертикальные заземлители забивают в предварительно вырытую траншею глубиной 600—700 мм таким образом, чтобы оставались концы длиной 100—200 мм, к которым приваривают соединительные проводники (см. рис. 7. 8, а, б). Соединение рельсов с очагом заземления необходимо выполнять двумя проводниками.
Повторное заземление должно иметь сопротивление растеканию тока не более 10 Ом. Сопротивление заземляющего устройства, к которому присоединены нейтрали генераторов и трансформаторов, не должно быть более 4 Ом (1-7-38 ПУЭ).
Рис . 7.8. Соединение вертикальных заземлителей между собой и крановыми путями:
а — в токопроводящем грунте; б — в истоко доводящем грунте;
1 — заземлитесь; 2 — соединительный проводник; 3— слой земли; 4 — слой соли
Применение: в
электроустановках напряжением до 1000 В с глухо заземленной нейтралью местного заземляющего устройства (например, выполнять заземление башенного, козлового кранов только через подкрановый путь), не связанного с нулевым проводом сети, запрещается, так как оно не обеспечивает безопасности людей.
При изолированной нейтрали заземление осуществляется либо путем присоединения подкрановых путей к заземляющему контуру, либо путем выполнения местного очага заземления (с сопротивлением не более 4 Ом), к которому присоединяются с помощью сварки рельсы кранового пути. В этом случае также целесообразно использовать проложенную в земле водопроводную сеть. Соединение рельсов в стыках перемычками и обеих ниток путей между собой выполняется, как и в предыдущем случае.
Заземление металлоконструкций мостовых кранов и установленного на них электрооборудования можно выполнять через подкрановые пути. Заземление тележек на кранах и поворотных частей крана обеспечивается контактом через рельсы и ходовые колеса или опорно-поворотные устройства.
Присоединение заземляющего провода к рельсовым путям крана должно выполняться при помощи сварки, а присоединение к корпусам электродвигателей, аппаратов и т. п. — при помощи болтовых соединений, обеспечивающих надежность контакта (контргайки, контрящие шайбы).
В тех случаях, когда электрооборудование крана установлено на его заземленной металлоконструкции и между ними имеется надежный контакт, при котором замеренное сопротивление заземления не превышает установленной нормы, присоединение добавочных заземляющих проводников не обязательно. При управлении краном (электроталью) с пола корпуса кнопочных аппаратов управления, выполненные не нз изоляционного материала, должны быть заземлены не менее чем двумя проводниками: жилой гибкого кабеля и тросиком, прикрепленным с наружной стороны гибкого кабеля.
Если стреловой самоходный крап (автомобильный, пневмоколесный и т. п. ) имеет собственную электростанцию, расположенную на его раме, то устройство заземления для такого крана не требуется.
В электролизных установках мостовые краны обслуживают серию электролизеров (ванн), работающих под напряжением 500 В и выше. На этих кранах Правилами по кранам предусматривается устройство трехступенчатой изоляции грузозахватного органа от «земли». Необходимость такой изоляции вызывается рядом причин, одной из которых является возможность поражения током обслуживающего персонала при одновременном прикосновении к крюку крана и электролизеру во время работы. Изоляция также предохраняет от возникновения токов короткого замыкания, которые могут быть очень большими, что может привести к несчастным случаям и вызвать повреждение оборудования. Изоляция производится текстолитовыми пластинами, прокладками, втулками.
Обычно в мостовых кранах пути изолируют от железобетонных балок и колонн здания, подтележечные пути от крана, а механизм подъема от тележки. Изоляция осуществляется путем подкладывания под рельсы текстолитовых подкладок. Крепежные болты и шпильки изолируются текстолитовыми втулками и шайбами.
Сопротивление каждой ступени изоляции должно быть не менее 10 МОм. Изоляция электрооборудования, проводов и кабелей должна быть рассчитана на случай приложения к ним напряжения от груза при повреждении или перекрытии ступеней защитной изоляции.
Испытание заземляющих устройств по нормам и в объеме, предусмотренном Правилами устройства электроустановок, производится при сдаче устройства в эксплуатации и периодически не реже одного раза в год. Результаты измерения сопротивления должны оформляться протоколом.
В электроустановках напряжением до 1000 В с глухо заземленной нейтралью при приемке в эксплуатацию, а также периодически в процессе эксплуатации 1 раз в 5 лет должно производиться измерение полного сопротивления петли «фаза-нуль» для наиболее удаленных, а также наиболее мощных электроприемников, но не менее 10% от их общего количества.
Внеплановые проверки производятся при капитальных ремонтах и реконструкции сети (ЭП-13-28 ПТЭ).
Выполнение дополнительных контуров заземления подкрановых путей иногда вызывает определенные трудности в достижении нормируемого сопротивления току растекания. Трестом «Киевэлектромонтаж» разработано устройство для автоматического отключения башенных кранов при обрыве нулевого провода, пробоев изоляции, исчезновения одной фазы электропитания. Госгортехнадзором СССР (письмо №06-13-15г/531 от 29 апреля 1971 г. ) разрешена установка такого автомата безопасности на башенных кранах взамен заземления крановых путей.
