Рисунок 14.66. Панель управления типа ПК 5713 318
Сигнальная лампа может быть вмонтирована в аппарат управления лифтом или установлена в непосредственной близости от него отдельно. В обоих случаях она должна быть закрыта стеклом или другим аналогичным материалом, на котором должна быть сделана четкая надпись «Занято». Лифты с управлением изнутри кабины должны быть снабжены звуковой (тревожвмонтирована в аппарат управления лифтом или установлена в непосредственной близости от него отдельно. В обоих случаях она должна быть закрыта стеклом или другим аналогичным материалом, на котором должна быть сделана четкая надпись «Занято». Лифты с управлением изнутри кабины должны быть снабжены звуковой (тревожной) сигнализацией (звонок, телефон), приводимой в действие из кабины и отчетливо слышимой в месте нахождения обслуживающего персонала.
Рисунок 14.67. Панель управления типа ПКВ 5730
При безлифтерном пользовании лифтами в жилых и административных зданиях для контроля за работой группы лифтов может быть оборудован диспетчерский пункт.
Диспетчерский контроль должен удовлетворять следующим требованиям:
а) для лифтов с автоматическим открыванием и закрыванием дверей между диспетчерским пунктом и кабинами лифтов должна быть установлена двусторонняя переговорная связь;
б) для лифтов с ручным или полуавтоматическим закрыванием и открыванием дверей, помимо переговорной двусторонней связи, должна быть предусмотрена на диспетчерском пункте сигнализация о закрытии всех дверей шахты и о наличии пассажира в кабине;
в) допускается при необходимости установления на диспетчерском пункте устройства для дистанционного отключения и включения лифтов; необходимость такого устройства определяется организацией, разработавшей конструкцию лифта.
Необходимость оборудования лифтов диспетчерским пунктом определяется эксплуатирующей организацией.
На работающих в группе пассажирских лифтах общественных зданий для сигнализации о приближении кабины к этажу и о последующем направлении ее движения применяются световые указатели.
На промежуточных этажах устанавливаются световые указатели типа СУ-2 (рис. 14. 68) с двумя стрелками противоположного направления, с двумя лампами накаливания; па крайних этажах — световые указатели типа СУ-1 со стрелкой одного направления, с одной лампой накаливания.
Световой указатель состоит из корпуса, в котором установлена панель с арматурой под лампы, и пластмассовой крышки с одной или двумя выпуклыми стрелками. С торца корпус имеет отверстие для крепления металлического шланга под монтажные провода; в дне корпуса предусмотрены отверстия диаметром 7 мм для крепления указателя. К крышке крепятся металлический трафарет с вырезанными стрелками и зеленый светофильтр. Крышка с трафаретом и светофильтром соединяется с корпусом двумя винтами. В световых указателях применяются лампы накаливания типа СМ-30 на напряжение 20 В. Масса световых указателей типов СУ-1 и СУ-2 соответственно 0, 16 и 0, 28 кг.
На лифтовых установках для сигнализации о местоположении кабины и о направлении ее движения применяют многоламповые световые табло.
Освещение. Лампы электрического освещения должны устанавливаться в машинном помещении, в помещении верхних блоков, в кабине, на площадках перед дверями шахты, в проходах и коридорах, ведущих к лифту, к машинному помещению и помещению верхних блоков, а также в шахтах лифтов всех типов при сплошном ограждении, за исключением малых грузовых. Установка постоянных ламп в сетчатой или остекленной шахте необязательна, если наружное освещение обеспечивает достаточную освещенность внутри шахты. Освещенность глухой шахты должна быть не менее 5 лк.
Рисунок 14.68. Этажные световые указатели: а — СУ-2; б — СУ-1; 14.69 Светильники типа СГЛ-2
В машинном помещении, в помещении верхних блоков и на крыше кабины должно быть установлено не менее чем по одной штепсельной розетке для переносной лампы напряжением не более 36 В.
Лампы освещения кабины, шахты, машинного помещения и помещения верхних блоков должны быть включены в сеть, до главного рубильника или установочного автомата электродвигателя лифта (если освещение питается от силовой цепи электродвигателя). При наличии в кабине резервного освещения напряжением до 36 В допускается включать основное освещение кабины после главного рубильника или установочного автомата.
Выключатель для включения освещения кабины и шахты должен устанавливаться в машинном помещении. Освещение кабины пассажирского лифта с подвижным полом допускается выполнять таким образом, чтобы оно включалось при открывании двери шахты и отключалось после выхода из кабины всех пассажиров и закрывания дверей шахты.
Допускается также использовать для включения освещения кабины переключатель, предназначенный для дистанционного включения лифта в работу. При этом освещение кабины должно включаться одновременно с включением лифта в работу. Этот переключатель должен устанавливаться в запертом шкафу на основном посадочном этаже.
Расстояние от пола кабины до нижней части осветительного прибора у пассажирских и больничных лифтов должно быть не менее 1800 мм. Осветительные приборы в кабине грузовых лифтов должны быть расположены так, чтобы они не мешали загрузке и разгрузке кабины.
В качестве светильников для освещения кабин грузовых лифтов применяются светильники типа СГЛ-2 (рис. 14. 69). Светильник состоит из корпуса, крышки, кольца с сеткой защитного стекла и патронов. Светильник рассчитан на одну лампу мощностью 60 Вт (основное освещение) и одну лампу мощностью до 10 Вт.
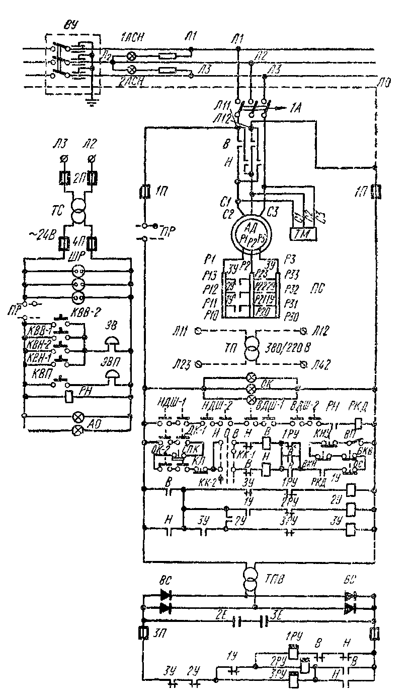
Электрическая схема малого грузового лифта с односкоростным двигателем и наружным кнопочным управлением
На рис. 14. 70 приведена принципиальная электрическая схема на три остановки.
Рис. 14. 70 Принципиальная электрическая схема малого грузового лифта на три остановки
Лифт приводится в движение от асинхронного короткозамкнутого двигателя АД. Питание подводиться двигателю и тормозному электромагниту через главный рубильник ГР и автоматический выключатель А, осуществляющий максимальную токовую защиту электрооборудования лифта. Цепи управления питают переменным током напряжением 220 В, а оснащение кабины лифта и цепи сигнализации — переменным током напряжением 24 В через понижающий трансформатор ТС. Управление электроприводом— контактное. Вся аппаратура управления и защиты смонтирована в одном блоке управления.
Лифтом управляют с основного загрузочного (первого) этажа, па котором установлена кнопочная панель с кнопками приказа 1КП, 2KП и 3KП и кнопкой «Стоп». Схемой предусмотрен сигнальный вызов кабины с каждого этажа и световая сигнализация о положении кабины.
Для защиты от подъема и спуска за установленные пределы служит конечный выключатель ВК, смонтированный па кабине. (1а выключатель воздействуют отводки, установленные в шахте. Для аварийной остановки лифта при срабатывании ловителей кабины предусмотрен контакт ловителя КЛ.
Закрытие дверей шахты контролируется блокировочными дверными контактами 1ДШ-1, 1ДШ-2, 2ДШ-1, 2ДШ-2, ЗДШ-1 3ДШ-2 (на схеме показано состояние этих контактов при открытых шахтных дверях). Рассматриваемую схему применяемого для лифтов, имеющих проходную кабину с дверями по обе стороны шахты, т. е.
с максимальным количеством блокировочных дверных контактов.
Отключают управление выключателем ВМП. расположенным в машинном помещении. Перед началом работы лифта Включают рубильники ГР и 2Р, выключатель ВМП и автомат А. Движение кабины лифта может начаться, если при нажатии на одну из кнопок приказа замкнуты все блокировочные контакты шахтных дверей и контакты концевого выключателя ВК, ловителя КЛ и кнопки «Стоп».
Выбор направления движения кабины и ее остановка на заданном этаже производятся важными переключателями 1ЭИ, 2ЭП и ЗЭП, установленными в шахте каждый на соответствующем этаже. На этажный переключатель воздействует отводка специальной формы, закрепленная на кабине. Каждый этажный переключатель имеет четыре контакта, обозначенных на схеме цифрами I, II, III, IV. Состояние контактов зависит от положения рычага переключателя. Положение рычага переключателя в свою очередь определяется положением кабины относительно данного переключателя. Когда кабина находится на уровне этажа, рычаг этажного переключателя находится в среднем положении (нулевом). При этом контакты III и IV замкнуты, а контакты I и II разомкнуты. При проходе кабины выше какого-либо этажа рычаг переключателя этого этажа переходит в правое положение, в котором контакты II и III замкнуты, а контакты I к IV разомкнуты. При опускании кабины ниже этажа рычаг данного этажного переключателя отводкой поворачивается в левое положение, в котором замыкаются контакты 1 и IV и размыкается контакты II и III.
По схеме (рис. 14. 70) кабина находится на первом этаже, поэтому рычаг переключателя 1ЭП занимает среднее вертикальное положение, а рычаги переключателей 2ЭП и ЗЭП повернуты вправо. Для отправления кабины на верхний этаж, например третий, нажимают кнопку приказа ЗКП. Это приводит к включению этажного реле ЗЭР, два замыкающих контакта которого включают реверсирующий контактор В. Время нажатия на кнопку приказа должно быть таким, чтобы успели последовательно включиться этажное реле и реверсирующий контактор. После включения контактора В приводной двигатель АД и тормозной электромагнит ТМ получают питание, лебедка растормаживается и кабина начинает движение вверх. При включении контактора В замыкается также его блокировочный замыкающий контакт, обеспечивающий самопитание катушки контактора В и питание реле ЗЭР.
Замыкание второго замыкающего блок-контакта В приводит к включению промежуточного реле РП и размыканию его размыкающего контакта в цепях катушек этажных реле 1ЭР, 2ЭР, ЗЭР, что исключает возможность регистрации второго приказа во время движения кабины при случайном нажатии на одну из кнопок приказа.
При подходе кабины к третьему этажу рычаг этажного переключателя отводкой кабины переводится из правого положения в среднее (нулевое) положение, что приводит к отключению контакта ЗЭП-П и отключению контактора В, в результате чего двигатель лифта и тормозной магнит от
ключаются от сети и кабина останавливается на уровне третьего этажа.
Для спуска кабины с любого этажа па первый нажимается кнопка приказа 1KI1. Этот приказ регистрируется включением этажного реле 1ЭР, и, так как контакт 1ЭГ1-1 этажного переключателя замкнут, включается контактор направления движения «Вниз» {Н).
Кабину вызывают на требуемый этаж с помощью кнопок вызова 2КВ-1, 2КВ-2, ЗКВ-1 и ЗКВ-2, подачей звукового сигнала и выбивкой сигнального блинкера (2БВК или ЗБВК) с номером этажа, с которого был подан сигнал о вызове. Звуковой сигнал и сигнальный блинкер находятся на месте управления лифтом. Кабину вызывают, например на третий этаж, нажимая на кнопки ЗКВ-1 и ЗКВ-2, расположенные у различных дверей шахты третьего этажа при оборудовании лифта проходной кабиной. В результате включается звонок ЗС и втягивается якорь сигнального блинкера ЗБВК. При отпускании кнопки вызова звуковой сигнал прекращается, а сигнальный блинкер остается выпавшим. Для его возврата в исходное положение надо нажать на штифт отбоя блинкера на кнопочной панели.
Данной схемой предусмотрены сигнализация о положении кабины, сигнализация о состоянии шахтных дверей и работе лифта с помощью сигнала «Занято», а также включение лампы освещения кабины ОК при работе лифта и открытых дверях шахты.
Сигнальные лампы положения кабины 1ЛП, 2ЛП и ЗЛП расположены в световом табло на нервом этаже. Они включаются контактами соответствующего этажного переключателя. Когда кабина находится, например, на втором этаже, то, так как оба контакта 2ЭП-111 и 29n-IV замкнуты, горит сигнальная лампа 2ЛП. После ухода кабины с этого этажа один из контактов 2ЭП-111 или 2ЭП-1У размыкается (контакт 2ЭП-111 размыкается при уходе кабины вверх, а контакт 2ЭП-IV размыкается при уходе кабины вниз) и лампа 2ЛП гаснет.
Лампа «Занято» и лампа освещения кабины ОК включаются при движении кабины с помощью промежуточного реле РП или же при открытии любой из створок шахтных дверей с помощью блокировочных выключателей 1ДШ-1, ЗДШ-2.
На напряжение 24 В подключены две штепсельные розетки для включения ремонтного пониженного напряжения: ШРМ — в машинном помещении и ШРК — в кабине. Схема предусматривает аварийную остановку лифта в случаях подъема кабины выше уровня верхнего этажа или спуска ее ниже уровня нижнего этажа с помощью концевого выключателя ВК; срабатывания ловителя с помощью контакта КЛ перегрузки двигателя или коротком замыкании в силовых цепях привода с помощью автоматического выключателя А от крытия хотя бы одной из дверей шахты.
Для остановки лифта в случае необходимости исправления зарегистрированного приказа или в других аналогичных случаях служит кнопка «Стоп» на панели лифтера.
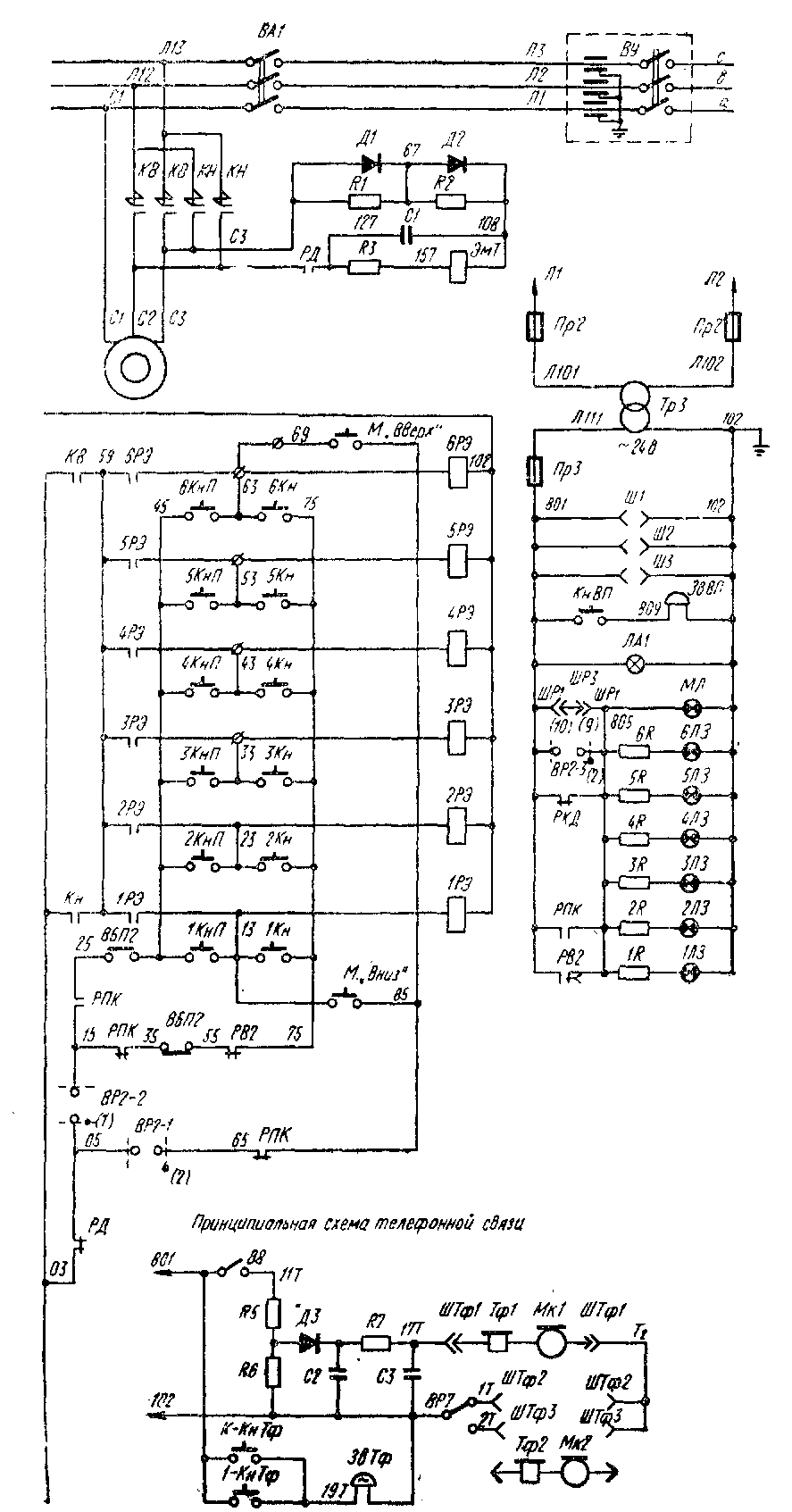
Рисунок 14.72. Принципиальная электрическая схема грузового лифта с рычажным управлением на две остановки
Неработающий лифт отключается автоматическим выключателем А и главным рубильником ГР.
Электрическая схема грузового лифта с рычажным управлением
Рассматриваемую схему применяют при работе грузовых лифтов грузоподъемно
стью 500, 1000, 2000 и 3200 кгс с номинальной скоростью 0, 5 м/с и лифтов грузоподъемностью 5000 кгс с номинальной скоростью кабины 0, 25 м/с. Лифты устанавливают в зданиях с числом этажей (остановок) от двух до девяти.
На рис. 14. 72 показана принципиальная электрическая схема грузового лифта с рычажным управлением на две остановки. Схемы лифтов с большим числом остановок отличаются от этой схемы незначительным усложнением схемы сигнализации для вызова кабины на нужный этаж.
Приводной асинхронный двигатель с фазовым ротором АД питается от сети переменного тока напряжением 380 или 220 В. Напряжение подводят к лифту с помощью вводного устройства ВУ, состоящего из рубильника и емкостного фильтра, и автоматического выключателя 1А, защищающего электрооборудование лифта от токов короткого замыкания и от токов, возникающих при случайной перегрузке лифтового двигателя.
Цепи управления (реле РКД и контакторы В, Н, 1У, 2У и ЗУ) питаются неременным током напряжением 220 В и постоянным током (реле 1РУ, 2РУ, 3РУ) напряжением 110 В. Напряжение, питающее цени управления, берется или от двух фаз сети (Л 11 и Л12), если ее напряжение равно 220 В, или от фазы ЛИ и нулевого провода ЛО (показано пунктиром), если напряжение сети равно 380 В, или от понижающего трансформатора ТП (показанного пунктиром), если напряжение сети равно 380 В и нет нулевого провода.
Напряжение 110 В постоянного тока получается с помощью понижающего трансформатора ТПВ, выпрямителя ВС и конденсаторов 2Е и ЗЕ, сглаживающих пульсации напряжения. Цепи сигнализации и резервное освещение питаются перемедным током напряжением 24 В через трансформатор ТС.
В роторную цепь приводного двигателя включены пуско-регулирующие сопротивления ПС, снижающие токи двигателя при его разгоне. Сопротивления выводятся из цепи ротора двигателя при сто разгоне последовательным включением роторных контакторов 1У. 2У и ЗУ (контакторов ускорения). Включаются же роторные контакторы с помощью реле ускорения 1РУ, 2РУ и ЗРУ, имеющих выдержку времени при отключении.
Лебедка лифта растормаживается тормозным трехфазным электромагнитом переменного тока ТМ, подключенным параллельно статору двигателя АД.
Лифтом управляют с помощью рычажного командоаппарата КК (командоконтроллера), имеющего три положения: «Вверх» (В), «Вниз» (Я) и нулевое (0). Контакт КК-1 замкнут, если рычаг командоаппарата стоит в положении «Вверх»; контакт КК-2 замкнут, если рычаг командоаппарата стоят в положении «Вниз» (точки напротив контакта показывают, в каком положении рычага замкнут данный контакт).
Рычаг командоаппарата из нулевого в крайние положения всегда переводит вручную проводник. Рычаг возвращается в пулевое положение при подходе к крайним этажам (верхнему или нижнему) принудительно с помощью отводок, установленных б шахте. В лифте с числом остановок больше двух рычаг командоаппарата проводник вручную возвращает в нулевое положение для остановки кабины на промежуточном этаже.
Рассматриваемая схема разработана
применительно к лифтам с проходной кабиной, имеющей двустворчатые двери с двух сторон. Поэтому на каждой этажной площадке установлены по две двустворчатые шахтные двери. Лифт может работать только тогда, когда закрыты все двери кабины и шахты. Закрытие дверей кабины контролируется контактами ДК-1 и ДК-2, включенными в цепь защиты лифта. Состояние дверей шахты контролируют контакты НДШ-1, НДШ-2 (нижнего этажа), ВДШ-1 и ВДШ-2 (верхнего этажа), включенные в цепь реле контроля дверей РКД. В цепь реле РКД включен также замыкающий контакт реле напряжения РН, контролирующий подачу питания к цепям сигнализации и резервного освещения.
В цепь защиты лифта, кроме дверных блок-контактов кабины и контакта реле РКД, включены еще следующие контакты предохранительных устройств:
1) контакт «слабины подъемных канатов СПК», размыкающийся при обрыве или ослаблении подъемных канатов;
2) контакт ловителя КЛ, размыкающийся при срабатывании ловителя;
3) контакт ограничителя скорости ОС, размыкающийся при срабатывании ограничителя скорости, которое происходит при превышении кабиной номинальной скорости; скорость может быть превышена, если при движении кабины вниз по каким-либо причинам не будет вывода сопротивления ПС из цепи ротора;
4) контакт концевого выключателя подъема кабины В/(В, размыкающийся при подъеме кабины выше уровня верхнего этажа;
5) контакт концевого выключателя спуска кабины ВКН, размыкающийся при опускании кабины ниже уровня нижнего этажа;
6) контакт натяжного устройства приводного троса ограничителя скорости КНУ, размыкающийся при ослаблении натяжения троса.
Кроме того, в цепь защиты включен выключатель ВП, с помощью которого отключается управление лифтом при работах в приямке. Лифт может быть пущен в ход только тогда, когда замкнуты все контакты, включенные в цепь защиты. Если же при движении кабины любой из контактов в цени зашиты будет разомкнут, лифт остановится.
Кабину освещают лампами О/С (основное освещение) и лампами АО (резервное освещение).
Для подготовки лифта к работе необходимо включить рубильник вводного устройства ВУ, включить автоматический выключатель 1А и поставить переключатель ПР в положение «Включено». После этих операций зажигаются лампы 1ЛСН и 2ЛСН, контролирующие напряжение в сети, подается питающее напряжение ко всем цепям электрической схемы, включается реле РН, зажигаются лампы освещения кабины ОК и АО и включается реле ускорения 1РУ.
Схема работы лифта следующая. Если закрыты все шахтные двери, то включается реле РКД. Для подъема кабины с нижнего этажа на верхний рычаг командоаппарата КК переводят в положение . Если все контакты в цепи защиты замкнуты, включается контактор В, главные контакты которого подключают двигатель тормозной электромагнит ТМ. Тормоз лифта размыкается, и кабина начинает разгоняться, причем в ротор двигателя включены все сопротивления ПС. Когда включается контактор В, eго блок-контакты включают реле 2РУ к ЗРУ и разрывают цепь реле 1РУ, которое отключается с выдержкой времени.
Посте окончания выдержки времена реле 1РУ включается контактор 1У, часть роторных сопротивлений выключается и двигатель переходит на новую искусственную характеристику. При включении контактора 1У обесточивается реле 2РУ, после окончания выдержки времени которого включается контактор 2У, а затем с поморгал реле 2РУ включается контактор ЗРУ. Разгон двигателя заканчивается.Время разгона приводного двигателя равно сумме установок времени реле ускорения 1РУ, 2РУ и ЗРУ.
При подходе кабины к уровню верхнего этажа рычаг командоаппарата КК переродится принудительно в нулевое положение, контактор В отключается, вследствие чего с источаются контакторы 1У, 2У и ЗУ, отключается реле 1PУ, отключаются двигатель АД и тормозной магнит ТМ и кабина останавливается на уровне верхнего этажа.
Аналогично работают элементы схемы при спуске кабины, для чего рычаг командоаппарата переводится в положение «Вниз» (Н).
Схема предусматривает вызванную звуковую сигнализацию. Для вызова кабины на пилений этаж нажимают на одну из кнопок вызова КВП-1 или КВН-2. а для вызова кабины на верхний этаж нажимают на одну из кнопок КВВ-1 или КВВ-2, расположенную по обе стороны шахты. В обоих случаях включается звонок ЗВ и в кабине. Для вызова обслуживающего персонала нанимают па кнопку КВП и включается звонок ЗВП в помещении дежурного по обслуживанию лифта,
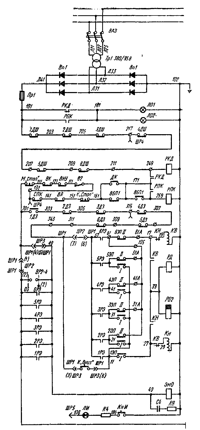
Электрическая схема пассажирского лифта с односкоростным асинхронным двигателем
На рис. 14. 73 показана электрическая схема пассажирского лифта с асинхронным односкоростным короткозамкнутым двигателем M1 на шесть остановок, устанавливаемого в жилых зданиях. Грузоподъемность лифта 320 кгс, а скорость кабины 0, 5 м/с. Лебедка лифта растормаживается тормозным электромагнитом постоянного тика ЭмТ.
Управление лифтом кнопочное внутреннее, с вызовом пустой кабины на любой этаж. Кнопки приказа 1КнП, 2КнП, ЗКнП, 4КнП, 5КнП и 6КнП установлены в кнопочном аппарате кабины, а вызывной аппарат с соответствующей кнопкой вызова
1Кн—6Кн и лампой «Занято» установлен на каждом этаже.
При входе пассажира в кабину происходит замыкание подпольного контакта ВБП1 Двери шахты закрыты, реле РКД выключено. Катушка реле РПК получает питание от зажима 101 через последовательно включенные блокировочные контакты шахтных дверей, замыкающий контакт реле РКД и подпольный контакт ВВП1 (171—259), после чего подготавливается к включению через замыкающий контакт (171—259).
Для отправления кабины па требуемый этаж пассажир закрывает дверь кабины и нажимает на кнопку нужного этажа, например ЗКнП. При этом катушка реле ЗРЭ получает питание по следующей цени: зажим 101, блокировочные контакты шахтных дверей, замокающий контакт реле РКД, контакты блокировочных предохранительных устройств, штепсельный разъем ШР1-ШР2 ( 201- 03). замкнутый размыкающий контакт реле РД (03—05), контакт выключателя ВP2-2, замыкающий контакт реле РПУ, подпольный контакт ВБП2, замыкающий контакт кнопки ЗКnН. Включившись, реле ЗРЭ замыкает контакты своей катушки (59—-33) в цени катушки контактора KB (59—33), в цепи катушки контактора KB (57—31), в цепи катушки электромагнитной отводки ЭМО. Отводка, стянувшись, освобождает ригель замка, вследствие чего происходит замыкание контактов 1Д 3.
Катушка контактора KB после запирании замков шахтных дверей получает цитате но следующей цепи; зажим 201, блокировочные контакты замков шахтных дверей, штепсельный разъем ШР1—ШР2 (313, —57), замыкающий контакт ЗРЭ, II контакты этажных переключателей третьего и верхнего этажей, размыкающий блок-контакт контактора K1I (17—19). Главные контакты контактора KB подают напряжение на обмотку электродвигателя, а замыкающий блок-контакт контактора KB (17—39) обеспечивает вклгючение реле РД, замыкающий контакт которого включает тормозной электромагнит. Кабина начинает движение вверх.
После включения контактора KB и отпускания кнопки приказа питание катушки этажного реле ЗРЭ будет осуществляться от зажима 03 через замыкающие контакты KB (03—59) и ЗРЭ (59—33). При движении кабины вверх происходит последовательное переключение этажных переключателей 1ЭП и 2ЭП. При подходе кабины к третьей остановке размыкается II контакт этажного переключателя ЗЭП и обесточиваются катушки: контактора KB, реле РД и РВ2. Контактор KB своими главными контактами отключает от сети приводной электродвигатель и тормозной электромагнит, а блок-контактами обесточивает катушку реле ЗРЭ. После отпадания реле ЗРЭ происходит отключение магнитной отводки ЭмО. Кабина останавливается.
Работа схемы при движении вниз происходит аналогично описанному движении вверх с той лишь разницей, что включается
Рисунок 14.73. Принципиальная электрическая схема пассажирского лифта с односкоростным асинхронный двигателем
