Крепление крюков малой грузоподъемности (до № 15 включительно) вследствие небольших размеров гайки целесообразно производить с помощью штифтов или стопорных болтов, что разрешено Госгортехнадзором СССР (Письмо № 06—12—1/340 от 20 марта 1973 г. ). Использование шплинтов для предотвращения свинчивания гайки с хвостовика крюка во всех случаях недопустимо.
Грузовые крюки кранов и электрических талей должны снабжаться предохранительным замком (рис. 5.12), предотвращающим самопроизвольное расцепление крюка и съемного грузозахватного приспособления, посредством которого подвешивается груз.
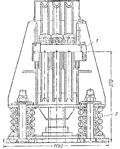
Рисунок 5.12. Траверса грузоподъемностью 50 тс
Конструкция предохранительных замков установлена ГОСТ 12840—67. Таким замком могут не снабжаться крюки портальных кранов, работающих в морских портах, и кранов, транспортирующих расплавленный металл и жидкий шлак. На портальных кранах применяются специальные крюки, форма которых исключает самопроизвольное выпадение из зева их грузозахватного приспособления (см. рис. 5.8).
По решению администрации предприятия, эксплуатирующего краны, предохранительный замок на крюках может не устанавливаться, когда для зацепки груза применяются только канатные и цепные стропы, а также другие гибкие грузозахватные приспособления. При применении траверсы, подобно указанной на рис. 5.12, снабжение крюков предохранительным замком обязательно. Такая траверса не имеет гибких элементов и самопроизвольное расцепление ее и крюка возможно.
Когда краном или тельфером перемещается груз в контейнерах, бадьях или в другой таре, навешиваемой на крюк с помощью скобы или других жестких элементов, необходимо применять замыкающее устройство на крюках.
Необходимость снабжения предохранительным замком крюков, применяемых в стропах и других грузозахватных приспособлениях (на пример, d траверсах), определяется организацией, производящей работы с помощью кранов.
Наиболее вероятна возможность самопроизвольного расцепления груза со стропами при монтаже зданий (установка стеновых панелей, колонн и т. п. ) Крюки стропов, применяемых в этих условиях
Рис. 5.13. Установка верхних блоков ковочного крана
(производство строительно-монтажных работ), следует снабжать предохранительным замком, как это предусмотрено п. 3.34 СНиП III-А.. 11—70.
Для увеличения срока службы грузовых крюков на внутреннюю поверхность зева иногда устанавливают накладки из листового металла толщиной 2—5 мм (в зависимости от грузоподъемности крюка). В тех случаях, когда грузовой крюк испытывает во время работы ударные нагрузки (например. в кузнечных цехах у кранов, обслуживающих прессы и молоты), должны быть предусмотрены амортизирующие приспособления, предотвращающие передачу этих нагрузок на кран.
На рис. 5.13 показана установка верхних блоков полиспастной системы механизма главного подъема ковочного крана грузоподъемностью 150 тс. Эта система состоит из канатов, верхних и нижних блоков двух спаренных полиспастов. Корпус верхних блоков 1 опирается на пружины 2, играющие роль амортизаторов и смягчающие динамические нагрузки на кран, возникающие в процессе ковки заготовок. На ковочных кранах для предохранения крана от действия недопустимых нагрузок, возникающих при ковке заготовок, предусматривается также устройство для автоматического растормаживания тормоза при нормальной работе и при аварийной нагрузке.
Ревизия крюков и деталей их подвесок должна производиться не реже одного раза в 12 месяцев При износе крюка в зеве свыше 10% от первоначальной высоты сечения он бракуется. При износе до 10% допускается восстановление изношенного места электронаплавкой качественными электродами. Сварочные работы должны быть выполнены дипломированными электросварщиками, допущенными к выполнению ответственных сварочных работ. Наплавка производится с тщательной заделкой кратеров. После наплавки вся восстановленная поверхность и околошовная зона должны быть зачищены наждачным камнем и проверены на отсутствие трещин одним из существующих методов дефектоскопии. После проверки соответствия размеров наплавки требованиям чертежа на восстановление размеров сечения наплавленный крюк рекомендуется подвергнуть отпуску для снятия напряжений (нагрев до 600—550° С, выдержка 1 ч, охлаждение до 300—400° С в печи, затем на воздухе).
Ревизия кованых и штампованных крюков и деталей их подвески, а также деталей подвески пластинчатых крюков у кранов, транспортирующих расплавленный металл и жидкий шлак, должна производиться заводской лабораторией с применением физических методов контроля. Заключение лаборатории хранится вместе с паспортом крана до следующей ревизии, которая проводится один раз в 12 месяцев.
Физическим методом контроля должно быть проверено отсутствие трещин в нарезанной части вилки пластинчатого крюка и в оси соединения пластинчатого крюка с вилкой или траверсой.
Проверке подвергаются крюки и детали подвесок механизма главного и вспомогательного подъема, если последним производится кантовка ковша.
Рекомендации по физическим методам контроля крюков и деталей их подвески, а также других ответственных деталей литейных кранов приведены в 12.3.
Грейферы подразделяются на одноканатные, двухканатные и моторные. В одноканатном грейфере операции по зачерпыванию груза, подъему заполненного грейфера и опорожнению его производятся с помощью только одного каната.
В двухканатном грейфере имеются поддерживающий и замыкающий канаты, навиваемые на отдельные барабаны специальной двухбарабанной грейферной лебедки.
Двухканатные грейферы могут быть снабжены двумя, тремя или четырьмя канатами, но принцип действия остается неизменным. Так, в четырехканатном грейфере имеется по два поддерживающих и замыкающих каната. По типу привода различают лебедки двухканатных грейферов с одномоторным и двухмоторным приводом.
У одномоторной грейферной лебедки оба барабана обслуживаются одним двигателем и приводятся в движение с помощью муфт. У двухмоторной грейферной лебедки каждый из барабанов в движение приводится отдельным двигателем.
У моторных грейферов имеются только поддерживающие канаты. Для замыкания челюстей на траверсе грейфера устанавливается специальный механизм с приводом от электродвигателя, ток к которому подводится гибким кабелем. В зависимости от типа грейфера (одноканатный, двухканатный, моторный) и типа лебедки (с одномоторным и двухмоторным приводом) выбирают запас прочности грейферных канатов но табл. 5. 1.
Канаты грейфера должны быть защищены от перетирания их материалом, захватываемым грейфером. Блоки грейфера должны быть так выполнены и расположены, чтобы исключалось выпадение канатов из желобка блока. Грейфер по своей конструкции должен исключать самопроизвольное раскрытие.
Грузоподъемность грейфера определится взвешиванием материала после пробного зачерпывания, производимого владельцем грейфера перед его применением для перевалки груза данного вида (марки, сорта). Пробное зачерпывание должно производиться с горизонтальной поверхности свеженасыпанного груза. Масса грейфера с зачерпнутым материалом не должна превышать грузоподъемности крана.
Для кранов с переменной грузоподъемностью, зависящей от вылета, эта масса не должна превышать грузоподъемности, соответствующей вылету, при котором производится работа крана с грейфером.
Грейфер должен снабжаться табличкой с указанием завода-изготовителя, заводского номера, собственной массы, вида материала для перевалки которого грейфер предназначен, наибольшей допустимой массы зачерпнутого материала. При отсутствии заводской таблички последняя должна быть восстановлена владельцем грейфера. Отдельно изготовляемые от крана грейферы, помимо таблички, должны снабжаться паспортом, содержащим указанные сведения.
Номинальный ряд емкостей грейферов установлен ГОСТ 8572—57, который распространяется на двухчелюстные грейферы емкостью от 0, 4 до 10 м3. предназначенные для перегрузки материалов с насыпной массой от 0, 5 до 2, 8. т/м3 включительно при кусковатости не более 300 мм. Для перегрузки штучных и крупнокусковых материалов применяются грейферы специальных конструкций. Изготовление грейферов производится по техническим условиям ГОСТ 18496—73 «Грейферы двухчелюстные канатные общего назначения. Общие технические требования».
Для механизации погрузочно-разгрузочных работ с круглыми лесоматериалами разработки ряд радиальных грейферов различных типоразмеров.
Грейфер ВМГ-5 подвешивают к крюку электрического крана грузоподъемностью не менее 5 тс и соединяют с электросетью крана питающим кабелем. Грейфер состоит из двух симметричных челюстей, верхней траверсы, механизма смыкания челюстей, вибратора, поворотного механизма и ряда предохранительных устройств. Для ориентации по азимуту грейфер комплектуется механизмом поворота, скрепленным с крюковой обоймой крана. Управляет грейфером и поворотным механизмом крановщик из кабины крана, для чего в ней устанавливается дополнительный пульт. Грейфер устанавливается на кране-погрузчике типа БКСМ-14ПМ2, с помощью которого очищают карманы-накопители и траншей сортировочных транспортеров, укладывают бревна в беспрокладочные штабеля высотой 9—10 м. разбирают штабеля и сбрасывают древесину в воду.
Рисунок 5.14. Схема одноканатного грейфера:
1—челюсти; 2 — стержень; 3 — промежуточный рычаг; 4 — крюк; 5 — головка с блоками
Грейфер ВМГ-10М может быть подвешен к крюку электрического крана грузоподъемностью 7, 5—10 тс. Конструкция грейфера аналогична конструкции грейфера модели ВМГ-5. Грейфер применяется на козловых кранах ККУ-10 и ККС-10, работающих на штабелевке, и для погрузки древесины в полувагоны МПС. Управление грейфером осуществляется дистанционно из кабины крановщика.
Грейфер МЛТИ-20 предназначен для оснащения электрических кранов грузоподъемностью 20—30 тс. С помощью грейфера производятся разгрузка хлыстов и деревьев с кроной с лесовозных автомобилей и подача их в запас или на приемные эстакады, а также подача из запаса на погрузку.
Грейфер МЛТИ-10/15 предназначен для вновь разработанного ВНИИстройдормашем стрелового крана-погрузчика КБ-572, имеющего грузоподъемность при максимальном вылете 10 тс. Грейфер предназначен для работы с пакетом лесоматериалов емкостью до 15 м3. С помощью грейфера можно разгружать лесовозные автомобили, производить штабелевочные работы с хлыстами и сортаментами, а также погрузку сортаментов в железнодорожные полувагоны.
Применение вибрационных грейферов на кранах КБ-572, ККУ-10. ККС-10, КК-20 разрешено Госгортехнадзором СССР (письмо № 13 —276/1494 от 28 сентября 1968 г. и письмо № 13—176/211 от 26 февраля
1971 г. ).
На рис. 5. 14 приведена схема одноканатного грейфера, изготовляемого Волгоградским заводом «Ремстройдормаш» Минпромстроя СССР.
Одноканатный грейфер предназначен для погрузки и разгрузки сыпучих строительных материалов. Он имеет две челюсти с острой режущей кромкой, промежуточный рычаг, шарнирно связанный с одной из челюстей и систему блоков. Раскрытый грейфер опускают на груз и ослабляют канат до зацепления крюка за стержень. При натяжении каната челюсти закрываются, наполняясь материалом. Крюк отцепляется при полном опускании закрытого грейфера и ослаблении каната. Произвольное раскрытие челюстей при натянутом канате во время транспортировки груза исключается.
Госгортехнадзор СССР разрешил применение грейферов па башенных кранах серий КБ, Т, С, БКСМ, МБТК и МСК для подачи сыпучих материалов на строящиеся здания при выполнении следующих условий: масса грейфера вместе с поднимаемым грузом не превышает 50% грузоподъемности крана при заданном вылете стрелы; число циклов работы крана в час не более пяти. Допустимо применение грейферов, управляемых только дистанционно, при отсутствии рабочих в опасной зоне.
Предназначенный для подъема сыпучий материал должен находиться на спланированной площадке, исключающей захват посторонних грузов (письма Госгортехнадзора СССР № ОС—13—1/239 от 15 февраля
1972 г. и № 06—13—1/1771 от 27 декабря 1972 г. ).
Грузоподъемные электромагниты применяются в качестве автоматического грузозахватного органа при подъеме и транспортировке стали, чугуна и отходов черных металлов. Краны, снабженные таким грузозахватным органом, принято называть магнитными. Грузоподъемные электромагниты используются на различных кранах (мостовых, пневмоколесных, железнодорожных, автомобильных, гусеничных и др. ), в том числе на специальных металлургических мостовых кранах (пратцен-кранах, магнитно-грейферных).
Электрический ток к катушке электромагнита подводится гибким кабелем, навиваемым на специальный барабан, имеющий кольцевой токоприемник, кабельный барабан связан с выходным валом редуктора механизма подъема при помощи зубчатой передачи с паразитной шестерней. Этим обеспечивается равенство скоростей кабеля и крюка с подвешенным к нему электромагнитом. Диаметр барабана принимается не менее 10 наружных диаметров гибкого кабеля. Рекомендуется применение в приводе кабельного барабана фрикциона, предохраняющего кабель от обрыва при зацеплении.
Крюковая подвеска магнитных кранов обычно снабжается приспособлением для предотвращения вращения крюка в горизонтальной плоскости, а сам крюк — зам ком, предохраняющим выпадение из зева крюка цепей грузового электромагнита.
Грузоподъемные электромагниты постоянного тока изготовляются круглой (серии М) и прямоугольной (серии ПМ) формы. Круглые электромагниты типов М-22, М-42, М-62А предназначаются для подъема и транспортировки стальных и чугунных грузов небольших размеров или неопределенной формы (плит, болванок, чугунных чушек, скрапа, стружки, и т. п. ). Специальный круглый электромагнит типа М-40 применяется для подъема бойных шаров при дроблении крупного чугунного металлолома на копровых участках металлургических заводов. Благодаря сферической конструкции его полюсов этим электромагнитом удобно захватывать бойный шар диаметром 1350 мм. массой 10 т.
Прямоугольные электромагниты типов ПМ-15 и Г1М-25 предназначены в основном для транспортировки стальных и чугунных длинномерных грузов (рельсов балок, труб и т. п. ); обычно применяются два или три таких электромагнита, работающих на общей траверсе.
