Противоугонные устройства предназначаются для удержания крана, работающего на открытом воздухе, от самопроизвольного перемещения по рельсовому пути под действием ветра, по силе превосходящего предельный рабочий.
Противоугонными устройствами должны быть снабжены башенные, козловые, портальные и другие краны, перемещающиеся по рельсовому пути.
Мостовые краны, работающие на открытом воздухе, противоугонными устройствами можно не снабжать, если тормоз рассчитан на удержание крана под действием ветра. При проектировании таких кранов должно быть проверено, чтобы запас удерживающей силы при воздействии ветра на кран составлял не менее 1, 2. Сила ветра принимается по ГОСТ 1451—65 для нерабочего состояния крана с учетом ветрового района установки крана.
С помощью противоугонных устройств, основными элементами которых являются рельсовые захваты, кран вручную или автоматически закрепляется за рельсы. Простейшим и наиболее распространенным устройством является ручной клещевой захват, охватывающий головку рельса (рис. 6. 29). Рычаг захвата 1 с помощью винта 2 зажимает головку рельса и удерживает кран от угона. С ходовой тележкой рычаги соединяются с помощью пальца 3. При нерабочем положении захвата рычаги снимаются с рельса и устанавливаются губками вверх. В таком положении благодаря овальным отверстиям они и удерживаются стенкой рамы во время работы крана.
Краностроительными заводами башенные краны серии КБ выпускаются с противоугонными захватами скользящего типа, которые неудобны в эксплуатации и требуют применения для стыковки рельсов специальных накладок, отсутствующих у большинства строительных организаций. Кроме того, в местах установки накладок имеются случаи поломки рельсов. Этот захват может
быть заменен полуавтоматическим захватом, рекомендованным Госстроем СССР.
Полуавтоматический противоугонный рельсовый захват предназначен для удержания крапа от перемещения под действием ветровой нагрузки в нерабочем состоянии
Рисунок 6.29. Ручной клещевой захват
Рис. 6.30 Полуавтоматический рельсовый захват
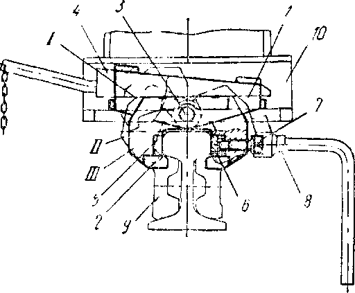
I — положение щеки при установке захвата в гнездо ходовой тележки; II — положение щек при обходе рельсовых накладок; III — нормальное положение щек
и предотвращения схода с рельс ходовых тележек при работе крана па подкрановых путях с рельсами Р-38 (ГОСТ 3542—47**), Р-43 (ГОСТ 7173—54) и Р-50 (ГОСТ 7174— 65*) с соответствующими этим рельсам накладками (ГОСТ 4133—54).
Захват может устанавливаться на всех кранах серии КБ, имеющих унифицированные ходовые тележки.
Захват состоит (рис. 6. 30) из сварного каркаса 1, двух щек 2, шарнирно подвешенных на общей оси 3, и клинового фиксатора 4. Щеки снабжены губками 5 и 6, одна из которых может горизонтально перемешаться с помощью винта 7. В нижней части щек 2 имеются выступы, постоянно подведенные под головку рельса. Это повышает безопасность работы крана, так как предотвращает возможность схода тележек крана при неточной укладке и просадке пути, а также опрокидывание крана при перегрузках.
Рисунок 6.31. Приводной захват с клиновым ползуном
Захват вставляется в гнездо рамы тележки 10 крана вместо стандартного захвата тискового типа без каких-либо переделок самой рамы.
При движении крана по подкрановым путям щеки 2 свободно проходят через рельсовые накладки 9 благодаря заходным фаскам, имеющимся на горизонтальных выступах щек. В случае отрыва ходовой тележки 10 от рельса захватные щеки автоматически подхватывают головку рельса. По окончании работы крана между корпусом 1 и щеками 2 вставляется клиновой фиксатор 4 и торцовым ключом 8 посредством винта 7 производится зажим головки рельса между губками 5 и 6.
Преимущества предлагаемого полуавтоматического рельсового захвата по сравнению с применяемым следующие:
1) обеспечивает возможность работы крана на подкрановых путях со стандартными двухголовными рельсовыми накладками, применяемыми на железных дорогах широкой колеи;
2) обеспечивает безопасность работы крана за счет автоматического подхвата головки рельса и более надежен в эксплуатации;
3) более прост по конструкции, менее металлоемок и менее трудоемок в изготовлении и в эксплуатации.
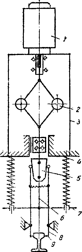
На рис. 6. 31 приведена конструкция захвата, приводимого в действие от электродвигателя устанавливаемого на козловые краны Узловским машиностроительным заводом.
Замыкания рычагов 1 производится опусканием клинового ползуча 2, осуществляемого электродвигателем 3 через редуктор 4 и передачу винт — гайка 5. Гайка воздействует на клиновой ползун через спиральную пружину 6. Вначале происходит опускание клинового ползуна вместе с клещами под действием собственной массы. После того как стяжка 7 клещей ляжет на головку рельса, начинается деформация пружины и вместе с ней перемещение клинового ползуна относительно рычагов. Клиновой ползун, опускаясь и воздействуя наклонными пазами на ролики 8, установленные на верхних концах рычагов, разводит рычаги и губки 9 входят в соприкосновение с баковыми поверхностями головки рельса. Гайка, продолжая перемещаться вниз, деформирует на определенную величину пружину 6 и своим упором воздействует на концевой выключатель 10, установленный на клиновом ползуне и отключающий приводной электродвигатель, обеспечивающий необходимое усилие зажатия рельса. Правильное положение опускающихся рычагов клещей по отношению к головке рельса обеспечивается направляющими роликами 11, которыми снабжен захват.
Клиновой ползун имеет пазы с двумя участками наклона: нижний, составляющий с вертикалью угол около 30°, служит для быстрого сведения и разведения клещей без нагрузки, верхний, принимаемый обычно 4— 8°, — для получения значительного усилия зажатия при небольшом усилии нажатия гайки.
В случае обрыва электропитания захват может быть приведен в рабочее положение с помощью ручки, надеваемой на выступающий из редуктора копен тихоходного вала. Захваты такого типа изготовляются на удерживающее усилие до 30 т.
Харьковским филиалом «Энергомонтажпроект» разработаны два типа противоугонных захватов: один — с расчетной удерживающей силой 3 тс, второй —с удерживающей силой, регулируемой в диапазоне 5—11 тс для кранов различных типов и моделей грузоподъемностью 5 —50 тс.
Автоматический противоугонный захват с удерживающей силой 3 тс работает на принципе использования подъемной силы центробежного привода для удержания (при работающем электродвигателе) системы зажимающих рычагов в разведенном состоянии.
Захват (рис. 6. 32) состоит из электродвигателя 1, центробежного привода 2, корпуса 3, зажимающих силовых пружин 4, распорного клина 5 с тягой 6, траверсой 7, клещевых рычагов 8 с зажимными губками 9.
При обесточивании крана или при получении сигнала от анемометра двигатель захватов, отключается, ветви центробежного привода опадают. Под действием силы сжатых пружин, передающейся через траверсу и клин, рычаги поворачиваются, зажимая губками головку подкранового рельса. Перед пуском крана захваты раскрываются с помощью электродвигателя, приводящего во вращение грузы центробежного привода. При этом клин перемещается в верхнее положение, пружины сжимаются, а рычаги освобождают головку рельса. В этом положении срабатывает конечный выключатель, установленный на захвате и замыкающий цепь питания электродвигателей механизмов передвижения крана.
Захват предназначается для установки на кранах с незначительной парусностью при угонной силе ветра нерабочего состояния 1С—12 тс. На ходовой части крана могут быть установлены 2—4 таких захвата.
Для кранов с угонной силой 10—40 тс разработана конструкция автоматического противоугонного захвата (рис. 6. 33) с максимальной удерживающей силой 11 тс, которая создается за счет использования угонной силы ветра, действующей на кран. Губки захвата накладываются с помощью вертикально перемещающегося копира, приводимого в действие от холостого ходового колеса угоняемого крана через зубчатую передачу, фрикционную муфту предельного момента и реверсивный привод
Рисунок 6.32. Автоматический противоугонный захват с удерживающей силой 3 тс
Рисунок 6.33. Автоматический противоугонный захват с удерживающей силой до 11 тс
