Двоичный умножитель
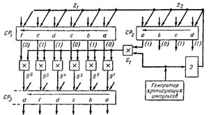
Л. — Нет, сложность удается устранить благодаря широкому использованию сдвигающих регистров, о которых ты только что так презрительно отозвался. Вспомни, что эти схемы могут, продвигать на один знак записанное число, т. е. умножать его на 2. Для этого в приведенной на рис. 130 схеме достаточно подать управляющий импульс на линию Z. Я полагаю, что теперь ты достаточно натренирован, чтобы смело приступить к ознакомлению с полной схемой умножителя, которую я изобразил на рис. 133. Множимое число мы записали на сдвигающем регистре СР1. Множимое расположено так, что справа находятся
Рис. 133. Полная схема двоичного умножителя, в котором используются три сдвигающих регистра и генератор хронирующих импульсов. Буквой 3 обозначена схема задержки импульсов.
единицы (а), а влево от них места занимают двойки (6), четверки (с), восьмерки (d) и т. д. Управляющий сигнал, поступающий в линию Z1 продвигает влево число, записанное на сдвигающем регистре СР1.
Множитель записан на сдвигающем регистре СР2. На этот раз единицы мы разместили на самом левом крае, а вправо от них по порядку записали двойки и т. д. Поступающий в линию Z2 управляющий сигнал сдвигает записанное число — множитель тоже влево. Сумма записывается на третьем сдвигающем регистре СР3, который работает только как сумматор. Сдвигающие регистры СР1 и СР2 имеют достаточное количество входов и выходов, чтобы операцию можно было выполнить полностью.
Расположенный справа маленький прямоугольник обозначает генератор хронирующих импульсов (или часы). Он задает ритм выполнения операции.
Рассмотрим, что происходит при приходе первого хронирующего импульса. Он может пройти через схему И, обозначенную буквой G1 потому что цифра единиц записанного на сдвигающем регистре СР2 числа представляет собой 1. Состояние регистров СР1 и СР2 к моменту прихода первого хронирующего импульса я показал для тебя на схеме в скобках у выходов этих регистров. Здесь я воспользовался только что рассмотренным нами примером умножения двоичных чисел. В этих условиях первый импульс пройдет через схему G1. Он поступит на все схемы g, расположенные между регистрами СР1 и СР3, и пройдет через те из этих схем, которые на второй вход получают с регистра СР1 сигнал о наличии в соответствующем звене цифры 1…
Н. — Это становится ужасно сложно, и я ровным счетом ничего не понимаю!
Л. — Тогда рассмотрим более подробно. Как ты видишь, на выходе а (единицы) регистра СР1 мы имеем нуль, а на выходе b (двойки) — цифру 1, на выходе с (четверки) — нуль, а на выходах d и е (соответственно восьмерки и шестнадцатки) по цифре 1. Первоначально на выходе а (единицы) регистра СР2 находится цифра 1. Следовательно, первый хронирующий импульс пройдет через схему И, обозначенную буквой Отсюда он придет на правые входы всех других схем И, обозначенных буквами g1 и g2… g6. В связи с наличием записанного на регистре СР1 числа хронирующий импульс не пройдет на выход схемы g1, пройдет на выходу2, не пройдет на выход g3 и пройдет на выходы схем g4 и g5. Надеюсь на этот раз ты меня понял?
Н. — Это ужасно сложно, но призвав на помощь все мои интеллектуальные ресурсы, я сумел более или менее понять.
Л. — Ты убедишься, что дальнейшее не сложнее того, в чем тебе удалось разобраться. Как ты видишь, первый хронирующий импульс запишет на сдвигающем регистре СР3 множимое без каких бы го ни было изменений. После окончания этого импульса схема задержки 3 (время задержки которой меньше интервала между двумя хронирующими импульсами) посылает сдвигающий импульс через линию Z1 на регистр СР1 через линию Z2 на регистр СР2. От этого импульса записанное на регистре CP1 число сдвигается на одну цифру влево, иначе говоря, теперь на регистре записано число 110100, с которым мы уже встречались. Число, записанное на регистре СР2, тоже смещается на одну цифру влево, иначе говоря, цифра двоек (нуль) теперь подается на верхний вход схемы
