Укладка груза в полувагоны, на платформы и в автомашины должна производиться таким образом, чтобы была обеспечена возможность удобной и безопасной строповки его при разгрузке. Для этого должны применяться прокладки, многооборотные стропы (см. гл. 8. пункт 8.4 настоящего справочника>>>>>), контейнеры и т. п.
Требования к размещению и креплению грузов в открытом подвижном составе железных дорог изложены в «Технических условиях погрузки и крепления грузов» Министерства путей сообщения СССР.
Не разрешается опускать груз на автомашины и полувагоны или поднимать груз при разгрузке их при нахождении людей в кузове автомашины или в полувагоне. Исключение может быть допущено при погрузке и разгрузке полувагонов крюковыми кранами, из кабины которых хорошо обозревается площадь пола полувагона и рабочий имеет возможность отойти от висящего на крюке груза на безопасное расстояние. Такие работы должны производиться по технологии (технологической карте), утвержденной министерством, в ведении которого находятся предприятия, производящие погрузку или разгрузку полувагонов, или предприятием по согласованию с органом технадзора. В основе технологии должно быть заложено пооперационное выполнение работы с указанием местонахождения стропальщика при каждой операции.
С технологической картой (графическим изображением схем последовательной укладки груза в полувагон, местонахождения стропальщика и направлений перемещения груза при каждой операции) должны быть ознакомлены крановщики, стропальщики и лица, ответственные за производство работ по безопасному перемещению грузов кранами. Технологическая карта и при необходимости краткая инструкция к ней вводятся в действие приказом по предприятию, производящему погрузочно-разгрузочные работы с помощью кранов.
Для обеспечения удобства и безопасности производства работ в местах постоянной погрузки и разгрузки полувагонов и автомашин устраиваются специальные эстакады (площадки) с настилом, расположенным несколько ниже борта полувагона или автомашины или на уровне борта (рис. 9. 2). Эстакады снабжаются инвентарными лестницами для облегчения доступа в полувагон и ограждением. Наличие таких эстакад не только способствует предотвращению травматизма, но и повышает производительность труда рабочих и сокращает простой транспорта. Устройство эстакад рекомендовано Госгортехпадзором СССР (информационное письмо № 13/228 за 1970 г. ).
При устройстве стационарных эстакад в местах погрузки полувагонов следует руководствоваться ГОСТ 9238—59. «Габариты приближения строений и подвижного состава железных дорог колеи 1524 мм».
Этим стандартом разрешено (в тех случаях, когда это вызвано требованиями технологического процесса) устанавливать габарит приближения строений из условий обеспечения зазора между выступающими частями сооружений и устройств (в нерабочем их положении) и частями подвижного состава по горизонтали — не менее 100 мм на высоте до 2000 мм и не менее 200 мм на высоте более 2000 мм, считая от уровня головки рельса.
Рисунок 9.2. Эстакада
Каждое такое отступление должно быть обосновано и утверждено организацией, в ведении которой находится предприятие (письмо МПС № 65 ЦМТ-34 от 3 марта 1970 г. ).
Эстакада может быть выполнена передвижной. Для ее сооружния обычно используется железнодорожная платформа.
При наличии эстакады разработка технологической карты на погрузку может быть рекомендована в случаях необходимости периодического нахождения стропальщика в полувагоне в процессе его загрузки или разгрузки.
Нахождение людей на железнодорожных платформах, во время подъема и опускания на них груза крюковыми кранами Правилами по крапам не запрещено. Условия нахождения следует отражать в инструкции стропальщика. Нахождение людей на платформах, автомашинах, в полувагонах и другом подвижном составе при погрузке и разгрузке их магнитными и грейферными кранами не допускается. Нельзя также производить погрузку и разгрузку автомашин любыми кранами (крюковыми, грейферными, магнитными) при нахождении людей в их кабине.
Ниже приведен пример выполнения технологической карты на погрузку в полувагон длинномерных грузов (двухскатных железобетонных балок массой 7, 5 т) при наличии эстакады.
Каждая погрузочная операция в зависимости от места (в полувагоне или эстакаде) нахождения стропальщиков (два человека) разбита на два периода:
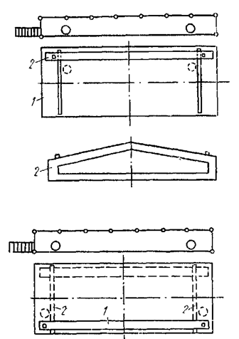
Рисунок 9.3. Схема подачи первом балки в полувагон: 1 — полувагон (в плане); 2 — двухкатная балка
Рисунок 9.4. Схема подачи второй балки в полувагон: 1 — балка; 2 — прокладки
I период — подача первой балки в полувагон (рис. 9. 3); последовательность
операции: стропальщики укладывают прокладки на пол полувагона, подготавливают проволоку для крепления груза и поднимаются на эстакаду;
II период—установка первой балки на место; последовательность операций: стропальщики спускаются с эстакады в полувагон и устанавливают балку к стене полувагона (при необходимости с подъемом на 200—300 мм и перемещением поперек полувагона).
В момент установки балки стропальщики находятся в местах, обозначенных на схеме (см. рис. 9. 2); стропальщики освобождают стропы, поднимаются из полувагона на эстакаду и подготавливаются к приему второй балки, которая должна быть уложена и укреплена на противоположной стенке полувагона.
Погрузка второй балки:
В момент установки груза стропальщики находятся в полувагоне в местах, обозначенных на схеме; стропальщики освобождают стропы и поднимаются из полувагона на эстакаду и подготовляются к приему третьей балки и т. д.
